Фантазии компании RIM на тему формфакторов

13:15, 05.08.2009

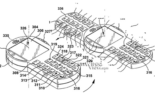
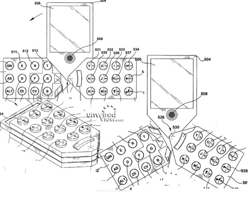
Люди, работающие в R&D-подразделении канадской компании RIM не сидят сложа руки. На протяжении последних двух лет, помимо всего прочего, они занимались разработкой новых формфакторов для смартфонов Blackberry.

Один из этих концептов мы видели в прошлом месяце. Это, пожалуй, единственный формфактор, который может быть реально реализован в будущем. Остальные выглядят довольно интересно, но, скорее всего, никогда не появятся в виде реальных устройств.

Теги:BlackBerry

Джерело: мАбила


Обговорення новини

Витёк-UA: ну ваще куда катится ээтот мир Злорадствую ну а вобще некоторые идеи прикололи, я бы купил такой телефончик :mrgreen:
ответить08:38 07.08.2009

:)8-):cry:=-):-D:angry::-[:(:devil:,)
укажите цифры с картинки
 

Попередні новини

  • Тачфон LG Bliss появился на сайте производителяТачфон LG Bliss появился на сайте производителя13:14 05.08.2009

    Релиз мобильного телефона LG Bliss состоится в эту пятницу, но на канадском сайте компании LG Electronics уж появилась довольно детальная информация об этом аппарате. Мобильный телефон LG Bliss выполнен в формфакторе бесклавиатурного моноблока с привлекательной внешностью.

  • Приложение Fring 3.40 доступно для Symbian-смартфонов SamsungПриложение Fring 3.40 доступно для Symbian-смартфонов Samsung13:11 05.08.2009

    Популярное приложение для Symbian-смартфонов Fring не так давно обновилось до версии 3.40, однако использовать ее могли лишь владельцы смартфонов Nokia. Разработчики исправили этот недостаток. Отныне приложение Fring 3.40 доступно и для владельцев Symbian-смартфонов компании Samsung.

  • Новая "ретрокамера" Olympus E-P2 будет оснащена видоискателемНовая "ретрокамера" Olympus E-P2 будет оснащена видоискателем10:37 05.08.2009

    Буквально полтора месяца назад компания Olympus анонсировала свою цифровую ретрокамеру E-P1, выполненную в стиле пленочных фотоаппаратов середины прошлого века. Функционально же эта камера представляет собой аппарат стандарта Micro Four Thirds, оснащенный Live-MOS матрицей с разрешением 12,3 мегапикселя и сменными объективами, а также функцией съемки в RAW-режиме.


купить телефон в Одесі, Україна

eStore – інтернет-магазин Apple