HTC патентует стилус для емкостных дисплеев

13:19, 17.08.2009

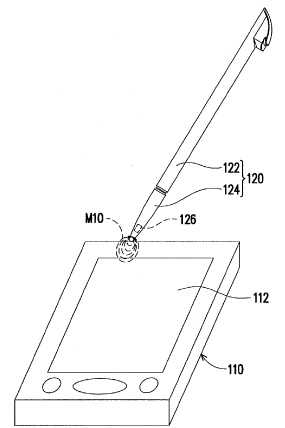
В последнее время стало очевидным, что для производителей мобильных устройств важно предоставить возможность пользователям работать с сенсорными дисплеями, как пальцами, так и с помощью стилуса. В то время как компания RIM запатентовала гибридный резистивноемкостной сенсорный дисплей, тайваньская компания HTC пошла другим путем.

Она запатентовала магнитный стилус для емкостных сенсорных дисплеев. Он оснащен тонким наконечником, который изготовлен из намагниченного материала, благодаря чему его можно использовать для работы с емкостными дисплеями, и точность ввода будет не хуже, чем при использовании обычного стилуса и резистивных дисплеев. 

Для компании HTC этот патент довольно важен, так как в азиатских странах предпочитают вводить данные в мобильное устройство с помощью функции распознавания рукописного ввода.

Автор: Денис Болдырев
Теги:HTC

Джерело: мАбила


Обговорення новини

Коментариев пока никто не оставил. Станьте первым!
:)8-):cry:=-):-D:angry::-[:(:devil:,)
укажите цифры с картинки
 

Попередні новини

  • Виртуальная клавиатура обнаружена в недрах webOSВиртуальная клавиатура обнаружена в недрах webOS09:36 17.08.2009

    Как вы знаете, многие пользователи коммуникатора Palm Pre сетуют на отсутствие виртуальной клавиатуры, но, как оказалось, она все-таки присутствует в прошивке этого аппарата. Энтузиасты, которые тщательно исследовали операционную систему webOS, обнаружили в ней спрятанную преальфа-версию виртуальной клавиатуры.

  • TAG TC-100 Commander - защищенный промышленный UMPCTAG TC-100 Commander - защищенный промышленный UMPC09:35 17.08.2009

    Компания Technology Advancement Group представила свой ультрамобильный компьютер второго поколения - TAG TC-100 Commander. Компания позиционирует TC-100 как надежного, производительного и гибкого помощника для военных, работников скорой помощи и рабочих промышленности по всему миру.

  • Электронная книга Matsunichi ER600 с множеством опцийЭлектронная книга Matsunichi ER600 с множеством опций09:32 17.08.2009

    Компания Matsunichi представила электронную книгу ER600. Она заключена в оригинальный корпус с металлической окантовкой вокруг дисплея и кожаной отделкой под дисплеем и на задней панели. E-book Matsunichi ER600 предлагает широкий набор опций, например, дисплей устройства может быть 5- или 6- дюймовым или выше, он даже может быть сенсорным.


купить телефон в Одесі, Україна

eStore – інтернет-магазин Apple