Nokia запатентовала трехмерный пользовательский интерфейс

13:09, 23.10.2009

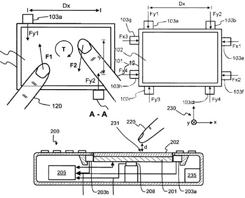
Научно-исследовательская лаборатория компании Nokia продолжает работать в области развития пользовательских интерфейсов. Недавно ей был запатентован трехмерный пользовательский интерфейс, поддерживающий функцию multi-touch.

В настоящее время значительно увеличилась популярность сенсорных дисплеев и компания Nokia не могла не обратить на это свое внимание. Суть запатентованного интерфейса заключается в том, что емкостной сенсорный дисплей благодаря специальным датчикам получит возможность распознавать множественные прикосновения к нему, а также определять силу прикосновения. Программное обеспечение, обрабатывая передвижения пальцев по дисплею и силу давления на дисплей, сможет предоставить пользователю больше возможностей и одновременно избавит от выполнения повторяющихся действий. К примеру, с помощью сильного нажатия на дисплей можно будет переместиться из меню в подменю.

О том, когда компания Nokia собирается использовать запатентованный трехмерный интерфейс в собственных продуктах, информации нет.

Автор: Денис Болдырев

Джерело: мАбила


Обговорення новини

Коментариев пока никто не оставил. Станьте первым!
:)8-):cry:=-):-D:angry::-[:(:devil:,)
укажите цифры с картинки
 

Попередні новини

  • Sanwa 400-HS015 — солнцезащитные очки с интегрированной Bluetooth-гарнитуройSanwa 400-HS015 — солнцезащитные очки с интегрированной Bluetooth-гарнитурой13:08 23.10.2009

    Идея совместить Bluetooth-гарнитуру и солнцезащитные очки не нова, однако японская компания Sanwa Direct стала первой, которая при этом использовала свойство костной проводимости звука. Представленная компанией Sanwa Direct новинка носит название Sanwa 400-HS015.

  • ARM анонсировала первый многоядерный мобильный процессор Cortex-A5ARM анонсировала первый многоядерный мобильный процессор Cortex-A513:05 23.10.2009

    Компания ARM официально представила процессор ARM Cortex-A5 MPCore. Это первый многоядерный процессор, предназначенный для использования в мобильных устройствах. Первое на чем заостряет внимание производитель — высокая энергоэффективность процессора ARM Cortex-A5 MPCore.

  • Giorgio Armani, Samsung и Microsoft представляют смартфон Giorgio Armani-SamsungGiorgio Armani, Samsung и Microsoft представляют смартфон Giorgio Armani-Samsung13:01 23.10.2009

    Компании Giorgio Armani, Samsung Electronics и Microsoft представляют смартфон Giorgio Armani-Samsung, претендующий на звание самого элегантного мобильного телефона на рынке. Джорджио Армани лично разработал дизайн новинки, так же как и дизайн первого мобильного телефона альянса Giorgio Armani-Samsung в 2007 году и модели Emporio Armani-Samsung Night Effect, дебютировавшей годом позже.


купить телефон в Одесі, Україна

eStore – інтернет-магазин Apple