Будущие iPhone смогут узнавать своего владельца по биению сердца

09:35, 07.05.2010
Вынесенное в заголовок утверждение, при всей его кажущейся фантастичности, на самом деле вполне реально. Во всяком случае, именно такая методика описывается в новой патентной заявке Apple под названием “Seamlessly Embedded Heart Rate Monitor”, опубликованной недавно Бюро по патентам и торговым маркам США.
Патент Apple

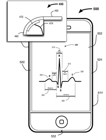
Суть новой технологии заключена в специальных сенсорах, встроенных в корпус iPhone и отслеживающих сердечный ритм пользователя. Эти биометрические данные затем могут использоваться для идентификации человека, взявшего коммуникатор в руки. Иными словами, если ваш iPhone “почувствует” чужого, он просто не включится.

Таким образом, повышается безопасность хранимой на iPhone личной информации. Если описанная выше методика найдет реальное воплощение, больше не потребуется выдумывать заумные пароли, которые можно расшифровать или просто-напросто позабыть, либо изобретать причудливые жесты на сенсорном экране, которые можно повторить. Конечно, для реализации подобной технологии потребуется соответствующее программное обеспечение, а также достаточно надежные сенсоры. Помимо идентификации такие сенсорны смогут отслеживать настроение пользователя.

Источник: Unwired View

Новостная служба Ferra, news@ferra.ru

Джерело: ferra.ru


Обговорення новини

Коментариев пока никто не оставил. Станьте первым!
:)8-):cry:=-):-D:angry::-[:(:devil:,)
укажите цифры с картинки
 

Попередні новини

  • Загрузка приложений для смартфонов через Samsung Apps уже доступна!Загрузка приложений для смартфонов через Samsung Apps уже доступна!12:27 23.03.2010

    Компания Samsung Electronics на Форуме Samsung, который проходил в Москве 18-19 марта, объвила о том, что ее сервис загрузки приложений для смартфонов Samsung Apps теперь доступен и в России. В скором времени ожидается адаптация сервиса и для пользователей с Украины.

  • Kogan Technologies готовит конкурента Apple iPad за $200Kogan Technologies готовит конкурента Apple iPad за $20018:27 03.03.2010

    Основатель компании Kogan Technologies Руслан Коган (Ruslan Kogan) сообщил австралийскому изданию APC, что она готовит к выпуску планшет. Он должен стать конкурентом Apple iPad, амбициозно заявил Коган. Только стоимость планшета Kogan Technologies будет заметно ниже - менее $200 (если речь об австралийских долларах, то это около $180 США).

  • CeBIT 2010: 7-дюймовый планшет HiVision SpeedPad всего за $100CeBIT 2010: 7-дюймовый планшет HiVision SpeedPad всего за $10018:24 03.03.2010

    Китайский производитель компьютеров HiVision продемонстрировал на выставке CeBIT, которая проходит сейчас в Ганновере, интересный 7-дюймовый планшет под названием SpeedPad. Среди других подобных решений, уже имеющихся на рынке или сейчас готовящихся к выпуску, устройство выделяет ультрабюджетная цена - всего $100.


купить телефон в Одесі, Україна

eStore – інтернет-магазин Apple