Новые iPhone получат multi-touch с улучшенным тактильным откликом multi-haptic?

18:15, 25.06.2010

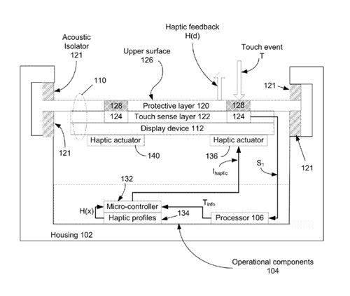
Компания Apple представила на рассмотрение Офиса патентов и торговых марок США (U.S. Patent and Trademark Office) свою новую разработку. Заявка называется "Multi Touch with Multi Haptics" и описывает систему, которая будет объединять multi-touch и тактильный отклик. По всей видимости, это нововведение планируется использовать в следующих моделях коммуникаторов iPhone и других устройств Apple. Фактически, речь в патентной заявке идет о новой, улучшенной версии тактильного отклика.

Патент Apple

То есть, пользователь будет чувствовать отклик поверхности экрана не просто нажимая на него в одной или нескольких точках, но и во время осуществления жестов мультисенсорного управления. Вибрация будет ощущаться сразу в нескольких местах дисплея - двух и более. Кроме того, для разных жестов будет реализован свой вариант отклика. Плюс к этому, планируется осуществить еще одну задумку: на нажатие с разной силой уровень отклика тоже будет разным. Остается надеяться, что этот интересный патент не ляжет на полку, а вскоре найдет свое отражение в устройствах Apple.

Патент Apple
Патент Apple
Источник: Electronista
Новостная служба Ferra, news@ferra.ru 

Теги:Apple

Джерело: ferra.ru


Обговорення новини

Коментариев пока никто не оставил. Станьте первым!
:)8-):cry:=-):-D:angry::-[:(:devil:,)
укажите цифры с картинки
 

Попередні новини

  • Arabesque VAIO EA – восточная роскошь от SonyArabesque VAIO EA – восточная роскошь от Sony18:12 25.06.2010

    В дополнение в предыдущим ноутбукам, также были представлены три модели Arabesque VAIO EA, отличающиеся лишь цветами. Ноутбуки покрыты арабесками, что представляет собой вязь ритмически повторяющихся геометрических и растительных мотивов. Ноутбуки представлены в розовом, золотистом и черном цвете.

  • Стильный медиаплеер Cowon J3 на территории РоссииСтильный медиаплеер Cowon J3 на территории России18:10 25.06.2010

    Спустя некоторое время после своего официального анонса гаджет Cowon J3 наконец-то появился на территории России. Как мы все помним, разработчики медиаплеера презентовали новинку еще в апреле месяце текущего года. Теперь же Cowon J3 объявился с официальным визитом на территории России и ждет своих покупателей.

  • Версия Android 2.2 Froyo для х86 процессоров появится этим летомВерсия Android 2.2 Froyo для х86 процессоров появится этим летом18:07 25.06.2010

    Чуть более месяца прошло со дня официального анонса мобильной операционной системы Android 2.2 Froyo, ставшей значительным шагом вперед для всех поклонников “зелененьких роботов”.


купить телефон в Одесі, Україна

eStore – інтернет-магазин Apple