Новые iPhone и iPad смогут распознавать жесты над экраном

12:13, 17.01.2011

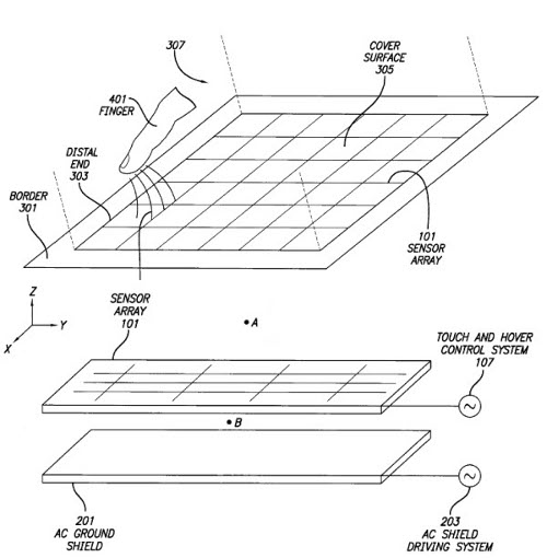
Компания Apple, судя по ее недавней заявке в Офис Патентов и Торговых Марок США, решила усовершенствовать свой multi-touch интерфейс, который используется в ее мобильных устройствах на основе iOS. Новая разработка называется "Touch and hover sensing", по словам Apple, описанный в ней метод позволит создавать боле тонкие, энергоэффективные и недорогие устройства. Смысл разработки состоит в том, что сенсорный экран аппарата начнет реагировать на прикосновение еще до того, как оно будет осуществлено.

Патент Apple

За счет сети проводящих элементов предполагается, что экран будет распознавать движения пальцев над экраном. Как только они попадут в электрическое поле, датчики смогут распознавать жесты. Таким образом мультисенсорное управление устройством будет усовершенствовано и расширено новыми движениями не только на, но и над поверхностью дисплея. Вполне возможно, такую функцию получат новые поколения iPhone, iPad и iPod touch, но пока эта разработка - лишь патент.

Источник: Unwired View

Новостная служба Ferra, news@ferra.ru 

Теги:Apple

Джерело: ferra.ru


Обговорення новини

Коментариев пока никто не оставил. Станьте первым!
:)8-):cry:=-):-D:angry::-[:(:devil:,)
укажите цифры с картинки
 

Попередні новини

  • Новый плеер iRiver U100 с сенсорным экраномНовый плеер iRiver U100 с сенсорным экраном12:10 17.01.2011

    Компания iRiver представила еще один карманный медиаплеер, предназначенный в основном для любителей высококачественного видео. Новый портативный девайс называется U100, и в его функции входит воспроизведение высококачественного видео в разрешении 1280х720 пикселей (HD-видео).

  • Samsung S5830 оказался Galaxy Ace S5830Samsung S5830 оказался Galaxy Ace S583012:06 17.01.2011

    Засветившийся несколько дней назад смартфон Samsung S5830 оказался вовсе не Galaxy S Mini. На самом деле гаджет будет называться Samsung Galaxy Ace S5830. Его официальные фотографии на днях были опубликованы EuroDroid.

  • Официальные фото Samsung Galaxy Ace S5830, Galaxy Suit S5670 и Galaxy Mini S5570Официальные фото Samsung Galaxy Ace S5830, Galaxy Suit S5670 и Galaxy Mini S557012:02 17.01.2011

    В Интернете появились официальные фотоснимки новых «галактических» смартфонов: на платформе Android: Galaxy Ace S5830, Galaxy Suit S5670 и Galaxy Mini S5570. Samsung Galaxy Ace S5830, ранее известный под названием Galaxy Mini, уже появлялся в сети несколько дней назад. Так что, несмотря на новое имя и более качественное изображение, никакой новой информации о новинке не поступило.


купить телефон в Одесі, Україна

eStore – інтернет-магазин Apple