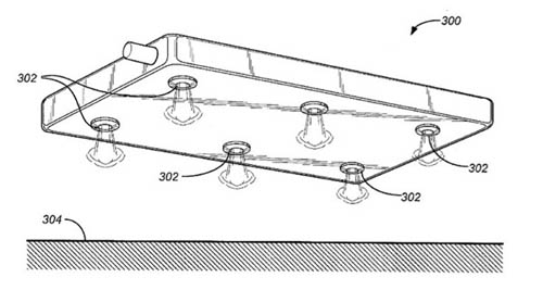
Глава Amazon Джефф Безос (Jeff Bezos) запатентовал подушки безопасности для телефона.
Устройство состоит из сенсора, определяющего, что телефон находится в
состоянии свободного падения, и подушек безопасности, которые
активируются перед ударом.

При этом в гаджете могут использоваться струи газа, которые должны будут
замедлить падение телефона или перевернуть его другой стороной.
Джефф Безос предполагает, что для определения опасных ситуаций в
телефоне могут использоваться акселерометр и лазерный дальномер.
Последний должен будет определить скорость падения гаджета.
Автор: Дмитрий Мухарев
Характеристики HTC Ruby: 4,3 двухъядерный Android10:06 15.08.2011Компания HTC разрабатывает телефон с кодовым названием Ruby. Осенью он появится у американского оператора T-Mobile USA. В Сети появился краткий список характеристик HTC Ruby: двухъядерный процессор с частотой 1,5 ГГц, сенсорный дисплей с диагональю 4,3” и разрешением qHD (960 х 540 точек), 8-Мп основная камера, 2-Мп дополнительная камера, 1 Гб оперативной памяти и т.д.
Подробные технические характеристики Sony Ericsson Wilhelmina10:04 15.08.2011Мир фантазий, в котором концепты мобильных устройств реальны, живет полноценной жизнью, концепты обрастают подробностями и постепенно получают технические характеристики. Вот и дизайнер под ником Razec опубликовал спецификации Sony Ericsson Wilhelmina, они оказались на уровне ожидаемого.
Asus Eee Pad Slider – новый Android-планшет с клавиатурой10:01 15.08.2011Свой новый Android-планшет с клавиатурой Eee Pad Slider компания Asus планировала выпустить еще в мае. Но, видимо, что-то не заладилось, и теперь производитель обещает порадовать нас новинкой в сентябре. Пожалуй, этому обещанию можно верить – хотя бы потому, что на официальном сайте Asus уже появился полный список характеристик девайса (далее).