Дисплей следующей версии iPhone будет чувствителен к силе нажатия

16:17, 12.10.2007

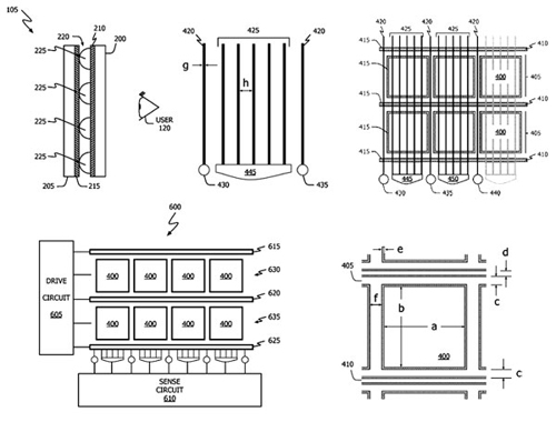
В интернете обнаружен очередной патент Apple о сенсорных дисплеях, чувствительных к силе нажатия. Ранее компания описывала общие идеи, теперь же запатентовала конкретную технологию.

Если разработки окажутся действительно успешными, то, возможно, мы их увидим в следующей версии iPhone. Реализовать идею планируется за счет специальных прозрачных подложек и деформирующихся элементов, установленных между ними.

Джерело: onliner.by


Обговорення новини

Коментариев пока никто не оставил. Станьте первым!
:)8-):cry:=-):-D:angry::-[:(:devil:,)
укажите цифры с картинки
 

Попередні новини

  • Продажи Bluetooth-девайсов превысят в этом году 800 млн. единицПродажи Bluetooth-девайсов превысят в этом году 800 млн. единиц16:14 12.10.2007

    По данным консалтинговой компании IMS Research, в текущем году на мировой рынок будет поставлено до 800 млн. Bluetooth-устройств. Это означает, что рост продаж по сравнению с 2006 годом составит беспрецедентные 40%.

  • i-mate готовит новый бюджетный коммуникаторi-mate готовит новый бюджетный коммуникатор16:07 12.10.2007

    Компания i-mate тихо и без шума пополнила серию бюджетных моделей JAMA. На её сайте появилась информация о новом коммуникаторе JAMA 101. Официального заявления о выпуске пока ещё не было, поэтому точные сроки поступления в продажу и ориентировочная цена пока не известны.

  • JAMA 201: бюджетный смартфон от i-mateJAMA 201: бюджетный смартфон от i-mate16:00 12.10.2007

    На сайте компании i-mate появилась информация о новом коммуникаторе JAMA 201. В отличие от i-mate JAMA, это не коммуникатор с сенсорным экраном, а смартфон на базе Windows Mobile 6 Standard.


купить телефон в Одесі, Україна

eStore – інтернет-магазин Apple