Новый концепт Blackberry с нестандартной клавиатурой и скроллером

14:08, 25.12.2007

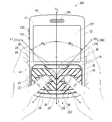
Разработчики из RIM представили оригинальный концепт смартфона Blackberry. Устройство, изображенное на схеме, обладает клавиатурой с необычными, расположенными под углом клавишами.

По словам производителя, данная идея будет воплощена в нескольких будущих смартфонах серии Blackberry, в том числе в моделях, в которых вместо стандартной клавиатуры будет использоваться сенсорная панель. Как считают разработчики, такая раскладка значительно облегчит работу с устройством.

Blackberry

Напомним, что ранее альтернативу обычному расположению клавиш предлагала компания Nokia в бюджетных моделях Nokia 3600 и 3650 с круглыми клавиатурами.

Помимо «угловой» клавиатуры, будущие Blackberry будут обладать интересным элементом прокрутки — многофункциональной кнопкой-скроллером, подобной той, что имеется у LG Shine.

Джерело: portavik.ru


Обговорення новини

Коментариев пока никто не оставил. Станьте первым!
:)8-):cry:=-):-D:angry::-[:(:devil:,)
укажите цифры с картинки
 

Попередні новини

  • Nokia 7500 и 7900 Prism в новых цветахNokia 7500 и 7900 Prism в новых цветах14:01 25.12.2007

    Потакая своим поклонникам, Nokia продолжает добавлять к самым популярным моделям новые цвета. Не так давно сообщалось о пополнении цветовой гаммы у топ-моделей Nokia Nokia N95 Red и Nokia N76 Ice White. Теперь цветовой модернизации подверглись имиджевые аппараты серии Prism.

  • В продаже китайская копия Nokia AeonВ продаже китайская копия Nokia Aeon13:55 25.12.2007

    Китайские производители приготовили подарок для поклонников футуристического финского концепта Nokia Aeon, обладающего двумя сенсорными дисплеями. Телефон GF-W168, представляющий собой копию Nokia Aeon, оснащен двумя сенсорными панелями, одна из которых заменяет клавиатуру.

  • Пиратский контент не остановитьПиратский контент не остановить19:08 24.12.2007

    Судя по всему, звукозаписывающие компании не хотят смотреть правде в глаза. Они не видят или не хотят видеть, что нарушение авторских прав давно уже стало чем-то обыденным, а стандартные способы продажи музыки стали неактуальны и архаичны.


купить телефон в Одесі, Україна

eStore – інтернет-магазин Apple