Motorola придумала решение проблемы деформации сгибающихся дисплеев

10:54, 18.06.2018

Еще в 2016 году компания Motorola запатентовала технологию, которая позволит бороться с деформацией сгибающихся дисплеев грядующх смартфонов. Недавно этот патент был обновлен и стал доступен для ознакомления всем желающим.

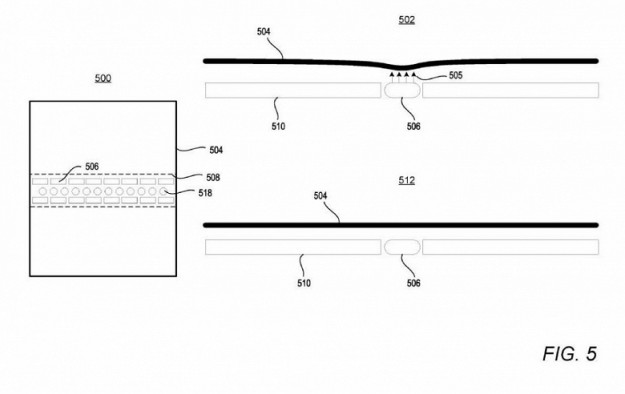
В патенте говорится о том, что деформации дисплея во время его сгибания можно избежать при использовании тепла. Инженеры предлагают нагревать ту часть дисплея, которая подвергается наибольшей нагрузке при сгибании, тем самым делая экран более податливым и менее подверженным повреждениям через определенное количество циклов сгибания/разгибания.

Также предусмотрены аппаратные и программные способы определения величины повреждений, которые получает дисплей в согнутом состоянии, а также количества тепла, воздействию которого должен быть подвергнут экран.

Как только датчики отдают соответствующий сигнал, производится выделение заданного количества тепла в шарнирную часть смартфона, что препятствует повреждению экрана.

Motorola пока не рассказала о своих планах по выпуску соответствующего смартфона, однако очевидно, что она работает в данном направлении.

Джерело: iXBT.com


Обговорення новини

Коментариев пока никто не оставил. Станьте первым!
:)8-):cry:=-):-D:angry::-[:(:devil:,)
укажите цифры с картинки
 

Попередні новини


купить телефон в Одесі, Україна

eStore – інтернет-магазин Apple