Одна из клавиш MacBook может стать мышкой

19:55, 19.08.2021

Apple рассматривает такой вариант в патенте

Компания Apple разрабатывает клавиатуру ноутбука MacBook со съёмной клавишей, которую можно будет использовать в качестве компьютерной мыши.

Такая разработка описывается в патенте Apple, зарегистрированном в патентном ведомстве США (U.S. Patent and Trademark Office, USPTO).

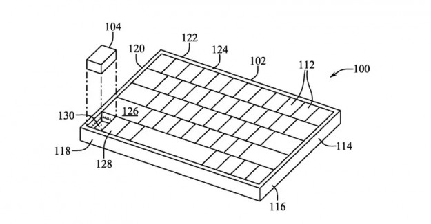
В документации описывается стандартная ножничная клавиатура MacBook со скрытой съемной клавишей. Эта клавиша будет содержать датчик положения. Apple описывает систему как обеспечивающую «удобный, портативный и точный ввод».

В документации поясняется, что для некоторых задач, таких как графический дизайн, компьютерное проектирование и моделирование, а также редактирование больших и сложных документов, больше подходит портативная мышь, а не трекпад. Apple признаёт, что ношение отдельной мыши может быть обременительным и «избыточным» решением.

По словам Apple, подобная съемная клавиша - жизнеспособное решение этой проблемы. В некоторых вариантах описывается клавиша со встроенной батареей, причём она могла бы работать в качестве стандартной кнопки клавиатуры при необходимости.

Конечно же, факт регистрации патента вовсе не указывает на то, что Apple доведёт разработку до коммерческой стадии.

Джерело: iXBT.com


Обговорення новини

Коментариев пока никто не оставил. Станьте первым!
:)8-):cry:=-):-D:angry::-[:(:devil:,)
укажите цифры с картинки
 

Попередні новини


купить телефон в Одесі, Україна

eStore – інтернет-магазин Apple