Samsung патентует складные очки дополненной реальности

00:38, 14.07.2019

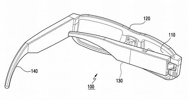
Судя по одной из недавних заявок на патент, компания Samsung изучает возможность разработки складных очков дополненной реальности. На иллюстрации, приложенной к заявке, показано устройство, которое похоже на обычные очки, но с более толстой оправой и дужками, где располагаются электронные компоненты. Конечно, серийное устройство, если оно будет выпущено, может сильно отличаться.

Ключевая особенность очков — складная конструкция. Она облегчает хранение и транспортировку устройства, делая его более практичным и удобным по сравнению с нынешними гарнитурами дополненной реальности, имеющими жесткую, монолитную конструкцию. Необходимость в жесткой конструкции обусловлена тем, что по ней проходит световод, связывающий проектор и элементы в стекле, направляющие формируемое проектором изображение в глаз. В патентуемой гарнитуре монолитная конструкция заменена составной, возможно — включающей призму в месте спряжения участков световодов, которое находится на стыке оправы и дужки.

По замыслу изобретателей, проектор, находящийся в дужке, включается только тогда, когда очки раскрыты, то есть дужка отведена на максимальный угол и световодная система образует единое целое.

Поскольку это только патентная заявка, неизвестно, как скоро разработка будет воплощена в жизнь.

Джерело: iXBT.com


Обговорення новини

Коментариев пока никто не оставил. Станьте первым!
:)8-):cry:=-):-D:angry::-[:(:devil:,)
укажите цифры с картинки
 

Попередні новини

  • Председатель ФРС: криптовалюту Libra нельзя внедрять в текущем видеПредседатель ФРС: криптовалюту Libra нельзя внедрять в текущем виде18:01 12.07.2019

    В июне крупнейшая социальная сеть в мире Facebook рассказала о планах по развёртыванию в 2020 году платёжной системы — Calibra. Хотя некоторые предполагали, что компания будет использовать существующие криптовалютные биржи вроде Gemini, компания учредила совершенно новую криптовалюту Libra.

  • Apple перенесла производство iPhone XS в ИндиюApple перенесла производство iPhone XS в Индию12:55 12.07.2019

    Судя по последним данным, в ближайшее время на индийских прилавках могут появиться недорогие iPhone. Так, источники Reuters утверждают, что iPhone XR и iPhone XS, произведенные в Индии, могут появиться на рынке уже в следующем месяце.

  • Для самых смелых. Microsoft выпустила Windows 10 без паролейДля самых смелых. Microsoft выпустила Windows 10 без паролей12:31 12.07.2019

    Компания Microsoft выпустила обновлённую тестовую версию операционной системы Windows 10 для участников программы Windows Insiders. Обновление под номером 18936 делает систему «беспарольной» — для входа и разблокировки системы пользователю больше не придётся вводить пароль.


купить телефон в Одесі, Україна

eStore – інтернет-магазин Apple