Судя по патенту, Sony работает над фотоаппаратом, раскладывающимся в дрон

01:31, 06.02.2020

Недавний патент от Sony показывает, что компания, похоже, обдумывает идею освоения рынка дронов (впрочем, это не новость с 2015 года). Третий по величине производитель камер в мире работает над «летающей камерой». Sony Alpha Rumors впервые обнаружила патент на беспилотник в октябре 2018 года, а 8 октября 2019 года Sony подала ещё один патент с дополнительными деталями — он был опубликован на днях.

«Летающая камера» выглядит как компактный складной дрон, который позволит осуществлять масштабирование при съёмке. Он оснащён технологией Sony Eye-AF (автофокусировка с распознаванием глаз), используемой в семействе камер Alpha. Приведём несколько иллюстраций, изображающих его внешний вид и функциональность. Вот как выглядит описанный в патенте аппарат в сложенном состоянии:

Крышка, которая отсоединяется от дрона, является сенсорным устройством, используемым для управления им. На одном из рисунков патента показано, как с помощью мультисенсорного экрана можно увеличивать и уменьшать объекты:

Обновлённый патент показывает, что дрон также может похвастаться функциями управления жестами:

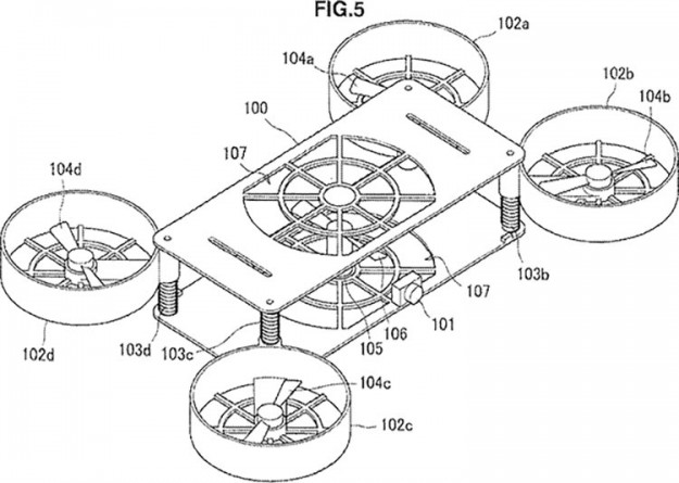
Помимо обычной версии, запланирован и более габаритный дрон, который выглядит ещё более странно и наделён сразу восемью моторами:

Поскольку речь идёт о патенте, нельзя сказать, насколько серьёзно Sony в настоящее время относится к возможному выходу на рынок дронов, но, тем не менее, эта разработка довольно любопытна. С самим патентом на 50 страниц можно детальнее ознакомиться на Scribd.

Джерело: 3DNews.ru


Обговорення новини

Коментариев пока никто не оставил. Станьте первым!
:)8-):cry:=-):-D:angry::-[:(:devil:,)
укажите цифры с картинки
 

Попередні новини


купить телефон в Одесі, Україна

eStore – інтернет-магазин Apple