
24 декабря уходящего года Управление США по патентам и торговым маркам (USPTO) выдало компании Samsung патент на «Носимое электронное устройство» (Wearable electronics device).
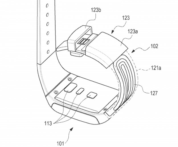
Под этим названием скрываются «умные» наручные часы. Как можно видеть на обнародованных иллюстрациях, гаджет получит дисплей квадратной формы. Очевидно, будет реализована поддержка сенсорного управления.
Изображения говорят о наличии массива сенсоров в тыльной части корпуса. Можно предположить, что датчики позволят снимать такие показатели, как частота сердечных сокращений, уровень насыщения крови кислородом и пр.

Нужно отметить, что заявка на патент была подана ещё в 2015 году. А это означает, что дизайн гаджета по современным представлениям несколько устарел. Так, например, дисплей имеет слишком широкие рамки.
Поэтому не исключено, что коммерческая версия устройства в случае выхода на рынок получит другую конструкцию. Samsung может применить, скажем, гибкий экран.
По оценкам IDC, в нынешнем году по всему миру будет отгружено 305,2 млн различных носимых устройств — смарт-часов, фитнес-браслетов, беспроводных наушников и пр. Это будет соответствовать росту на 71,4 % по сравнению с 2018-м.