Обзор ноутбука ASUS U50Vg

21:47, 21.04.2011

Не так давно мы вам рассказывали о презентации новейших ноутбуков ASUS серий U и UX на базе Intel ULV Core 2 Duo в Украине. Данные ноутбуки компания ASUS позиционирует как ультратонкие и очень легкие решения, сочетающие в себе высокую производительность при низком энергопотреблении и широкий набор коммуникационных возможностей. К тому же ноутбуки имеют чрезвычайно элегантный дизайн, особенно в раскрытом состоянии. Что ж, если вдаться в подробности, то отметим, что в основе систем используются «низковольтажные» процессоры Intel в паре с интегрированной в чипсет видеокартой Intel GMA 4500MHD. Более производительные решения дополнительно укомплектовываются и видеокартой NVIDIA GeForce G105M, обеспечивающей расширенную поддержку мультимедиа и увеличенную производительность благодаря поддержке CUDA. При этом в зависимости от выполняемых задач происходит автоматическое переключение между видеокартами. Среди дополнительных мультимедийных возможностей имеется поддержка интерфейса HDMI и использование акустической системы Altec Lancing, поддерживающей технологию расширения звука SRS Premium Sound. Улучшение качества изображения достигается применением жидкокристаллических дисплеев со светодиодной подсветкой и низким энергопотреблением.

И вот, спустя некоторое время, мы можем подробно познакомится с одним из ноутбуков серии U, а именно ASUS U50Vg.

ASUS U50Vg

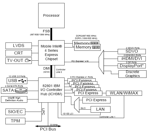
В ноутбуке используется весьма производительный процессор Intel Core2 Duo T6570, работающий при частоте 2100 МГц с FSB 800 МГц. Присутствует поддержка таких технологий как Execute Disable Bit, Enhanced Intel Speedstep и Intel EM64T.

В качестве чипсета используется набор микросхем Intel PM45 Express (также известен под кодовым именем Cantiga). Чипсет имеет поддержку двухканальной памяти стандартов DDR2 и DDR3 максимальным объемом до 8 ГБ.

Для поддержки внутренних устройств и периферии и накопителей используются шесть портов PCI Express x1 версии 2.0, до двенадцати портов USB 2.0, а также четыре SATA. Среди используемых технологий стоит отметить: Intel Active Management 4.0 – предоставляет новые методы управления удаленными клиентами в бизнес-среде; Intel Matrix Storage 7.0 – обеспечивает высокую производительность системы и предоставляет усовершенствованные функции управления питанием и эффективную защиту данных для подсистем хранения данных.

За обработку графики отвечает видеокарта NVIDIA GeForce G 105M c 512 МБ видеопамяти. Данный GPU имеет полную поддержу DirectX 10.0 и Shader Model 4.0. Также реализована поддержка таких технологий как CUDA, NVIDIA PureVideo HD и Hybrid Power.

Внешний вид и эргономика

ASUS U50Vg

Ноутбук ASUS U50Vg, как и вся серия U, имеет совершенно новый элегантный дизайн, который, как отмечает производитель, в раскрытом состоянии несколько напоминает бабочку. Внешняя часть ноутбука имеет абсолютно черный цвет, для крышки применено мерцающее покрытие, которое при попадании света становится похожим на звездное небо. Дополнительной изящности этому придает повсеместное использование глянца, за которым придется постоянно ухаживать, ведь он склонен к сбору отпечатков и пыли. Раскрытие ноутбука не потребует особых усилий, крышка к основанию крепится двумя надежными петлями, что избавляет от использования защелок или магнитов. По размерам ноутбук имеет средние габариты (384 x 267 x 21,6-33,6), а по весу довольно тяжелый, как для мобильного решения - 2,6 кг.

ASUS U50Vg

На фронтальной стороне можно увидеть лишь один ползунок, позволяющий активировать модуль Wi-Fi.

ASUS U50Vg

На правой стороне расположились два разъема mini-jack (наушники (S/PDIF)/микрофон), два порта USB 2.0, разъем E-SATA и разъем DC-in для адаптера переменного тока. Также здесь находится оптический привод, позволяющий работать с практически любыми CD и DVD.

ASUS U50Vg

Левая сторона вмещает в себя один порт USB 2.0, слот для ExpressCard|34, мультиформатный кард-ридер, разъем HDMI, разъем VGA для подключения внешнего монитора и разъем для локальной сети RJ45, а также вентиляционное отверстие и порт замка Kensington.

ASUS U50Vg

Всю тыльную сторону занимает отсек для аккумуляторной батареи, поэтому, места для чего-то еще здесь не нашлось.

ASUS U50Vg

На днище расположено несколько наклеек с важной информацией, и несколько вентиляционных отверстий, сделанных в крышке единственного отсека, который обеспечивает доступ пользователю к «внутренностям» ноутбука. Здесь же находится и отсек аккумулятора, в котором для надежного крепления батареи предусмотрено два типа фиксаторов: пружинный и ручной.

Матрица, устройства ввода, вэб-камера

ASUS U50Vg

Ноутбук ASUS U50Vg оснащается 15,6" широкоформатным дисплеем с LED-подсветкой. Такой дисплей обеспечивает высокое качество изображения и почти идеальную цветопередачу. Соотношение сторон «театральное», а максимальное разрешение 1366 x 768 (WXGA). Дисплей имеет глянцевое покрытие, которое обеспечивает предотвращение выцветание картинки на солнце, но, в то же время, склонно к появлению характерных бликов. Наличие таких фирменных технологий как ASUS Color Shine, ASUS Splendid Video Intelligent, существенно повышающие качество изображения. Также присутствует и новая технология AI Light Sensor, предназначенная для автоматического регулирования подсветки матрицы в зависимости от освещенности окружающей среды. Кроме этого дисплей имеет довольно широкий диапазон регулировки яркости подсветки, а также неплохие углы обзора.

На кромке над дисплеем находится модуль веб-камеры, в основе которого используется 1,3-мегапиксельный сенсор. Веб-камера имеет фиксированное положение, поэтому для выбора нужного угла наклона придется изменять положение всей крышки ноутбука.

В ноутбуке установлена весьма интересная клавиатура, в которой присутствует светодиодная подсветка клавиш, что обеспечивает удобную работу в плохо освещаемых местах. Клавиши плоские и имеют раздельное размещение как в ноутбуках MacBook. В целом клавиатура обладает хорошей эргономикой, клавиши хорошо разнесены, а ошибочных нажатий практически не возникает. Радует и присутствие отдельного цифрового блока, в котором на клавишу [Enter] функционально вынесен калькулятор. Все символы имеют белое полупрозрачное обозначение, благодаря чему очень хорошо видны при подсветке.

Слева над клавиатурой, почти у самой кромки, находится клавиша переключения между режимами производительности.

Напротив, справа, расположена клавиша включения ноутбука.

Как и клавиатура, тачпад также имеет несколько интересных функций. В нем присутствует поддержку мультинажатий, что позволяет управлять некоторыми функциями «жестом». Кроме того, в местах прикосновения панель подсвечивается горизонтально от края до края. Также присутствует возможность вертикальной и горизонтальной прокрутки. Под сенсорной панелью расположены две стандартные клавиши, выполненные из цельной металлической пластины.

Акустика

В ноутбуке используется качественная акустика Altec Lasing, состоящая из двух динамиков, которые расположены над клавиатурой и прикрыты металлической сеточкой. Кроме этого реализована поддержка технологии расширения звука SRS Premium Sound, при помощи которой можно подстраивать звук для различных нужд, например для игр, музыки и видео. Громкость динамиков довольно высокая, ее будет хватать в большинстве случаев.

Блок питания и аккумулятор

Подключения ноутбука к сети осуществляется посредством блока питания SADP-65NB AB (65 Вт, 19 В, 3,42 А), который произведен в недрах компании ASUS. Во время работы значительный нагрев БП заметен только лишь при подзарядке аккумуляторов.

Во время автономной работы ноутбук берет энергию из 6-элементной литий-ионной батареей A32-U50 (10,8 В, 4800 мАч), которая тоже является собственной разработкой.

Тестирование

Для осуществления этого этапа мы выбрали несколько популярных тестовых пакетов, которые позволяют объективно оценить производительность всех компонентов ноутбука. Результаты тестирования мы сравнили со следующими решениями:

  • ASUS C90S (Intel i945GC, Intel Core 2 Duo E6600 @ 2.0 ГГц, NVIDIA GeForce 8600M GT 512 Мб, 1024 + 1024 Мб DDR2-667, Seagate ST9160821AS (160 Гб, 5400 RPM, SATA-II));
  • Acer Aspire 6920G (Intel PM965, Intel Core 2 Duo T8100 @ 2100 МГц, NVIDIA GeForce 9500M GS 512 Мб, 2048 + 2048 Мб, WDC WD3200BEVT-22ZCT0 (320 Гб, 5400 RPM, SATA-II));
  • DELL Studio 1537 (Intel PM45, Intel Core 2 Duo T7250 @ 2.0 ГГц, ATI Mobility Radeon HD 3400 256 Мб, 1024 + 1024 Мб DDR2-800, Hitachi HTS543225L9A300 (250 Гб, 5400 RPM, SATA-II)).

Как видим, производительность у ноутбука достаточно высокая и ее хватает практически для всех современных задач. Единственным исключением будут только сильно требовательные 3D-приложения. С более простыми приложениями, а тем более офисными задачами, ноутбук справляется без особых усилий.

Накопители

Программа HD-Tune была использована для получения информации о дисковой подсистеме ноутбука. В нем используется жесткий диск Seagate емкостью 320 ГБ. Скорость вращения шпинделя составляет 5400 об/мин.

Оптический привод MATSHITA DVD-RAM UJ862AS, используемый в ноутбуке, способен как считывать, так и записывать информацию на CD и DVD диски. Для получения информации об основных возможностях привода и тестирования на чтение царапанного диска, были использованы утилиты Nero. Результат читаемости такого диска успешный.

Нагрев

При помощи встроенной утилиты проверки стабильности в программе Everest, мы определили температурные показатели ноутбука во время интенсивной и продолжительной работы. В результате выяснилось, что процессор ноутбука способен разогреваться до 65-75 градусов Цельсия, но при этом система охлаждения работает достаточно тихо.

Автономная работа

С помощью программы Battery Eater мы замерили время автономной работы ноутбука. Замер происходил в нескольких режимах:

Режим

Время, мин

Максимальная нагрузка

87

Минимальная нагрузка

329

Восстановление заряда

120

Автономная работа ноутбука обеспечивается 6-элементной батареей емкостью 4800 мАч. Этой емкости при максимальной нагрузке хватает в среднем на полтора часа, а при минимальной же нагрузке и отключении всех подсветок и неиспользуемых модулей результат увеличивается более чем в три с половиной раза и обеспечивает время автономной работы до пяти с половиной часов. Для полной зарядки аккумулятора с нуля понадобится около двух с половиной часов.

Итоги

ASUS U50Vg – это очень интересный и полный инноваций ноутбук, как внешне, так и внутренне. Внешняя часть ноутбука полностью глянцевая, что с одной стороны придает особой изящности, но существенно увеличивает требования по ухода за состоянием поверхностей. Это же можно сказать и о зеркальном покрытии дисплея. Хотя, сам дисплей имеет качественную 15,6-дюймовую матрицу со светодиодной подсветкой, что обеспечивает превосходное качество изображения с яркими и насыщенными цветами, но зеркальное покрытие быстро запыляется и «радует» бликами от ярких источников света.

Управление ноутбуком осуществляется посредством клавиатуры, тачпада, а также при помощи оптической мыши, идущей в комплекте. Установленная клавиатура очень удобная, в ней используются плоские разделенные клавиши, имеющие светодиодную подсветку, что обеспечивает отличное качество работы в плохо освещаемых местах. Подсветкой может похвастаться и тачпад, который также имеет и поддержку функции мультинажатий.

При этом производительность ноутбука находится на высоком уровне и он позволяет без проблем работать с различными офисными программами, фото, видео и аудиоматериалами, а также и с большинством трехмерных приложений. Но ноутбук не игровой, для современных игр его производительности не будет хватать.

Достоинства:

  • Элегантный черный дизайн с мерцающим покрытием крышки ноутбука.
  • Широкоформатный 15,6-дюймовый дисплей.
  • Высокая производительность.
  • Качественные стереодинамики Altec Lasing с поддержкой SRS Premium Sound, что обеспечивает отличное звучание.
  • Эргономичная клавиатура с разделенными клавишами и подсветкой.
  • Тачпад с поддержкой мультинажитий и подсветкой.
  • Замечательная комплектация, в которой нашлось место для оптической мыши и транспортировочной сумки.

Недостатки:

  • Обилие глянцевых поверхностей, требующих постоянного ухода за ними.
  • Зеркальное покрытие дисплея, склоннео к появлению бликов.
  • Достаточной большой вес ноутбука как для ультратонкой серии.
Автор: Сергей Черноиван 
Источник: Easycom.com.ua

Обсуждение статьи

Коментариев пока никто не оставил. Станьте первым!
:)8-):cry:=-):-D:angry::-[:(:devil:,)
укажите цифры с картинки
 

купить телефон в Одесі, Україна

eStore – інтернет-магазин Apple