Apple научит наушники помнить ваши настройки ваши

13:42, 17.07.2009

Многие пользователи мобильных устройств сталкивались с ситуацией, когда восторг от приобретения очередного «гаджета» несколько портился необходимостью ввода настроек. Избавить от этого утомительного для многих процесса может идея компании Apple.

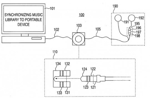
Компания из Купертино получила патент, название которого звучит «Data store and enhanced features for headset of portable media device» (хранение данных и расширение возможностей для гарнитуры портативных медиа устройств). Его суть заключается в том, чтобы интегрировать в наушники флэш-память, в которой будут храниться пользовательские настройки. При подключении таких наушников к мультимедийному устройству, его настройка произойдет автоматически. Список настроек может включать в себя параметры эквалайзера, плейлисты, номера быстрого дозвона, пароли, сетевые настройки и т.д.

Эта идея компании Apple способна упростить жизнь многим пользователям мобильных устройств, поэтому не исключено, что она будет реализована в будущем.

Автор: Денис Болдырев

Теги:Apple

Джерело: мАбила


Обговорення новини

Коментариев пока никто не оставил. Станьте первым!
:)8-):cry:=-):-D:angry::-[:(:devil:,)
укажите цифры с картинки
 

Попередні новини

  • В следующем месяце будет анонсирован телефон LG BlissВ следующем месяце будет анонсирован телефон LG Bliss13:40 17.07.2009

    Появилась первая информация о мобильном телефоне южнокорейской компании LG, который называется LG Bliss. Он станет наследником модели LG Versa. Мобильный телефон LG Bliss выполнен в моноблочном формфакторе с дизайном «e2e».

  • Обзор стереосистемы UFOLOGОбзор стереосистемы UFOLOG11:49 17.07.2009

    Универсальная стереосистема с хорошим качеством звучания, а также возможностью работы от трех различных видов источников питания. Простая и не требовательная в управлении система, заключенная в стильный корпус, не только впишется практически в любой интерьер, но и станет отличным решением при выборе настольной акустической системы.

  • RIM и T-Mobile представят новый смартфон 20 июляRIM и T-Mobile представят новый смартфон 20 июля10:24 17.07.2009

    Мы уже писали в новостях о смартфоне BlackBerry Curve 8520, который также известен под кодовым названием Gemini. Это GSM-устройство, которое должно выйти в продажу в четвертом квартале текущего года у американского оператора T-Mobile. А теперь стало известно, что, возможно, анонс BlackBerry Curve 8520 состоится уже совсем скоро - 20 июля.


купить телефон в Одесі, Україна

eStore – інтернет-магазин Apple