Panasonic готовит новую зеркальную камеру в форм-факторе Four Thirds

11:51, 17.12.2009

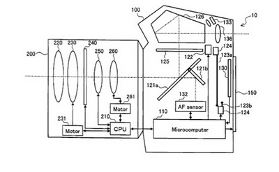
Вполне возможно, что Panasonic представит на суд пользователей новую зеркальную камеру (dSLR) в форм-факторе Four Thirds (4:3) ближайшее время. Как сообщает 43Rumors, её конструкция была подробно описана в новом патенте Panasonic, который стал достоянием общественности на днях. По предварительным данным, помимо трационного оптического видоискателя, данная камера еще может работать в режиме Live View. Тем не менее, она не умеет записывать видео, хотя использует датчик изображения типа CMOS.

Стоит также отметить, что на задней панели имеется специальная клавиша для включения и выключения функции снижения вибраций. Среди других конструктивных особенностей можно выделить ультразвуковой генератор для чистки матрицы CMOS и других деталей от пыли. Пока неизвестно, когда Panasonic выпустит на волю эту камеру и по какой цене, но можно полагать, что японская компания расскажет о ней более подробно на предстоящей выставке Consumer Electronics Show 2010 (CES ‘10) в начале следующего года.

Остается толькло добавить, что в отличие от обычных зеркальных камер камеры Four Thirds более компактные. Тем не менее, они также используют съёмную оптику.

Автор: Роман Смоличев

Джерело: Hi-Tech News


Обговорення новини

Коментариев пока никто не оставил. Станьте первым!
:)8-):cry:=-):-D:angry::-[:(:devil:,)
укажите цифры с картинки
 

Попередні новини

  • Миниатюрный MP3-плеер PNIX SDМиниатюрный MP3-плеер PNIX SD11:28 17.12.2009

    Компания PNIX запустила в продажу дешевый и компактный MP3-плеер под названием PNIX SD. Часто подобные новинки выпускаются китайскими производителями, однако, данное устройство является корейским. Модель подкупает пользователя в первую очередь ценой и имеет довольно миниатюрные размеры.

  • COOLH700 – китайский клон под брендом AdidasCOOLH700 – китайский клон под брендом Adidas11:24 17.12.2009

    COOLH700 - очередной клон с логотипом известной компании, которая вряд ли подозревает о существовании телефона. Спецификация COOLH700 довольно проста, но и цена довольно демократична – 680 юаней. Телефон оснащен 2,2-дюймовым дисплеем с разрешением 240х320 точек, работает в сетях GSM/GPRS (900/1800 МГц)...

  • Плеер Sigo S40 с поддержкой HD-видеоПлеер Sigo S40 с поддержкой HD-видео11:22 17.12.2009

    Анонсированный в октябре плеер Sigo S40 с поддержкой HD-видео поступил в продажу по цене 499 юаней (около $73). Речь идет о версии Sigo S40 с 8 ГБ встроенной памяти. Сообщается, что плеер работает на чипе Telechips TCC8901, что предполагает поддержку видеоформатов MKV,TS,MPG,AVI,VOB,RMVB,FLV...


купить телефон в Одесі, Україна

eStore – інтернет-магазин Apple