Apple патентует собственную систему 3D без очков

12:34, 03.12.2010

Компания Apple запатентовала собственную технологию демонстрации трехмерного изображения, которая, как утверждается, не требует специальных 3D очков. Мы уже сообщали о схожих разработках японских корпораций Sharp и Sony, а теперь и компания из Купертино включилась в этот набирающий силу тренд.

Патент Apple

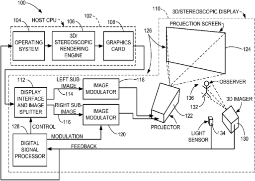
В представленной документации описывается так называемый автостереоскопический метод, позволяющий создавать 3D иллюзию, для наблюдения за которой не требуются специальные очки. По мнению Apple, необходимость использования очков, в конечном счете, ограничивает привлекательность 3D для потребителей.

Более того, традиционные методики создания 3D изображения, как требующие использования очков, так и "безочковые", затрудняют или делают невозможным получение одинакового удовольствия несколькими пользователями, поскольку им необходимо находиться в определенной области перед дисплеем. В то же время в системе, предложенной Apple, используется рефлективный экран с рифленой текстурой, дающий возможность проецировать отдельное изображение для каждого глаза.

Суть же технологии Apple заключается в том, что данная система отслеживает положение глаз пользователя и соответственно регулирует параметры изображения. Таким образом, по мнению разработчиков, указанная система должна предоставлять оптимальную 3D картинку на одном экране одновременно для нескольких зрителей, вне зависимости от их местоположения и угла обзора. Пока, правда, неясно, когда именно новая разработка Apple найдет воплощение в реальных продуктах.

Источник: CNET News

Новостная служба Ferra, news@ferra.ru

Теги:Apple

Джерело: ferra.ru


Обговорення новини

Коментариев пока никто не оставил. Станьте первым!
:)8-):cry:=-):-D:angry::-[:(:devil:,)
укажите цифры с картинки
 

Попередні новини

  • Google Reader теперь будет работать на AndroidGoogle Reader теперь будет работать на Android12:30 03.12.2010

    Сервис Google Reader теперь доступен и на смартфонах на базе Android, таким образом, владельцы таких устройств всегда смогут быть в курсе самых свежих новостей. Новое приложение поддерживает несколько аккаунтов, функции друзья, непрочитанные сообщения, предпочтения синхронизации, поиск, ссылки и возможность отправлять понравившиеся посты друзьям.

  • Mini Galaxy S i9000 - китайская версия смартфона Samsung Galaxy SMini Galaxy S i9000 - китайская версия смартфона Samsung Galaxy S12:27 03.12.2010

    Рано или поздно это должно было произойти. И вот это произошло - теперь и у Samsung Galaxy S (i9000) появился свой китайский клон. Азиатский аппарат получил приставку "mini" в названии, хотя таким уж мини его и не назовешь - он не намного меньше оригинала, тем не менее, вместо 4-дюймового экрана здесь - 3,5-дюймовый, с разрешением 320х480 (естественно, ни о каком AMOLED речи не идет).

  • iOS/ iPhone 5 получит всплывающие радиальные меню?iOS/ iPhone 5 получит всплывающие радиальные меню?12:24 03.12.2010

    Интерфейс iPhone/iOS практически не изменялся с момента его введения в 2007 году. Сегодня под управлением этой операционной системы работают более 1 млн устройств и даже девайсы, более крупные по размерам – планшет iPad. А интерфейс остался практически таким, каким он был 3 года назад. Но может быть ситуация изменится с iOS/iPhone 5?


купить телефон в Одесі, Україна

eStore – інтернет-магазин Apple