Nokia начала работу над Dual-Screen 3D-смартфоном

11:59, 10.05.2011

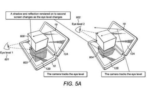
Партнерство Nokia и Microsoft начало давать свои результаты, так как стало известно о патенте на новый Dual-Screen 3D-смартфон


Особенностью трубки станет возможность просмотра 3D-контента без использования специальных очков, независимо от позиции просмотра. Также говорится о двойном дисплее, который также станет прообразом для будущего планшета, который уже, скорее всего, будет работать под Windows 8 и его релиз состоится не раньше 2013 года.

Использованы материалы: http://nexus404.com

Джерело: SmartPhone.ua


Обговорення новини

Коментариев пока никто не оставил. Станьте первым!
:)8-):cry:=-):-D:angry::-[:(:devil:,)
укажите цифры с картинки
 

Попередні новини

  • Samsung похвастался 75-дюймовым телевизором Samsung похвастался 75-дюймовым телевизором 11:57 10.05.2011

    Огромный телевизор проще заменить полноценным проектором, но иногда хочется по-настоящему живой картинки, особенно, если подсоединить к TV игровую приставку или РС. Samsung создали подобный девайс – это 75-дюймовый LED-телевизор D9500. Этот "монстр" также поддерживает выход в Сеть и множество интернет приложений, наряду с трехмерной картинкой, полноразмерной QWERTY-клавиатурой и Smart TV.

  • Motorola Droid X может получить Gingerbread 13 мая ?Motorola Droid X может получить Gingerbread 13 мая ?11:55 10.05.2011

    В очередной раз появилась информация о том, что смартфон Motorola Droid X может получить апгрейд до Android 2.3 Gingerbread. В очередном сообщении говорится, что случится это на этой неделе.

  • 10.0-дюймовый Android-планшет HTC Puccini10.0-дюймовый Android-планшет HTC Puccini11:52 10.05.2011

    Вслед за HTC Flyer, компания НТС сообщает об очередном представителе своей линейки планшетов. На этот раз, это 10.0-дюймовый девайс на базе операционной системы Android. Источники говорят, что HTC работает над созданием более крупного и лучшего планшета, имя которого HTC Puccini, но это пока лишь проект и имя лишь кодовое обозначение.


купить телефон в Одесі, Україна

eStore – інтернет-магазин Apple