Apple рассматривает возможность использования пикопроекторов

15:11, 12.08.2011

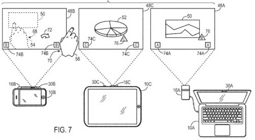
Компания Apple изучает возможность разработки пикопроекторов, которые могут стать неотъемлемой частью экосистемы iOS.

В своем новом патенте Apple описывает пикопроектор, который может быть подключен к iPhone, Macbook или интегрирован в iPad. Этот проектор оснащен камерой и может считывать multi-touch жесты на проецируемом изображении.


Наличие пикопроекторов позволит расширить возможности использования iOS-гаджетов и сделает их более привлекательными для корпоративных пользователей. К примеру, с их помощью можно будет проводить презентации. А наличие NFC или Bluetooth модулей позволит синхронизировать работу нескольких аппаратов и создать единый экран из нескольких проекций.

Автор: Дмитрий Мухарев
Теги:AppleApple OS

Джерело: mobiset.ru


Обговорення новини

Коментариев пока никто не оставил. Станьте первым!
:)8-):cry:=-):-D:angry::-[:(:devil:,)
укажите цифры с картинки
 

Попередні новини

  • ICOO представила планшет T77 PROICOO представила планшет T77 PRO15:08 12.08.2011

    Компания ICOO представила свой новейший Android-планшет T77 PRO. Устройство оборудовано 7.0-дюймовым емкостным мультитач дисплеем с разрешением 800 x 480 пикселей и работает на базе процессора ARM Cortex-A9 с частотой 1ГГц.

  • WP7 Mango смартфон HTC Mazaa можно купить на аукционахWP7 Mango смартфон HTC Mazaa можно купить на аукционах15:04 12.08.2011

    Чтобы вы сделали, если бы выиграли один из первых смартфонов с Windows Phone Mango? А если бы вы были студентом университета и ждали приближения выходных? Думаю, многие уже поняли, к чему я клоню - первый смартфон с WP7 Mango (HTC Mazaa) уже появился на аукционе eBay.

  • Прекращен выпуск Dell Streak 5Прекращен выпуск Dell Streak 513:55 12.08.2011

    Компания Dell подтвердила через свой официальный портал, что выпуск планшетника Streak 5 остановлен. Но пользователям указанного планшета не стоит волноваться, так как аксессуары и прочая периферия будет доступна по-прежнему. Помимо этого Dell наладит выпуск 7 и 10-дюймовой разновидности Streak.


купить телефон в Одесі, Україна

eStore – інтернет-магазин Apple