Новый патент Apple: ударопрочный iPhone с защитным стеклом

09:59, 21.11.2011
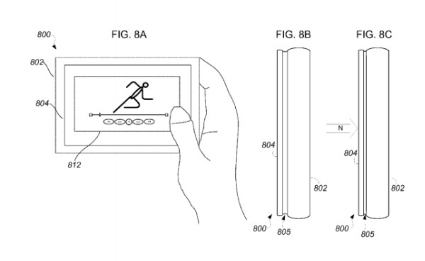
Начиная от смарт-ручек и заканчивая искусственным интеллектом Siri, Apple всегда старается найти новые пути улучшения своего смартфона iPhone. Последний патент компании включает описание небьющегося стекла, защищенного от повреждений. Полное название патента звучит примерно как «ударопрочное стеклянное покрытие потребительских электронных устройств», а в описании указано использование движущейся прослойки между непосредственно стеклом телефона и его аппаратной начинкой.
Новый патент Apple: ударопрочный iPhone с защитным стеклом

Также в патентной заявке описано использование сенсора, который может отличить падение устройства от обычных передвижений телефона в пространстве, и привести девайс в состояние готовности к механическому воздействию. Учитывая, что компания Apple пока не преодолела стадию патентной заявки, в ближайшее время мы вряд ли увидим iPhone или iPad, который можно не бояться случайно выронить, но скорее всего, рано или поздно подобный продукт появится в будущем. Компания Apple известна множеством патентов, из-за которого «яблоко» периодически судится с другими производителями электроники. Одним из таких патентов, например, является «переход между режимами ввода». В соответствии с положением в пространстве, компьютер с помощью, например, акселерометров и датчиков положения, может менять «режимы ввода и соответствующие пользовательские интерфейсы». Патент был подан 9 июля 2009 года. Компания также задокументировала внешний вид устройства iPhone без кнопки «Домой», поскольку действие патента в США распространяется даже на девайсы, которые «внешне похожи» на представленный в документах образец.

Джерело: mobiledevice.ru


Обговорення новини

Коментариев пока никто не оставил. Станьте первым!
:)8-):cry:=-):-D:angry::-[:(:devil:,)
укажите цифры с картинки
 

Попередні новини

  • Droid Xyboard 8.2 на свежих фотоDroid Xyboard 8.2 на свежих фото09:56 21.11.2011

    Мы уже знаем, что смартфоны Motorola Xoom 2 и Xoom 2 Media Edition будут продаваться под именами Droid Xyboard 10.1 и Xyboard 8.2. А на днях в сети появились фотографии одного из этих гаджетов - Droid Xyboard 8.2.

  • Nokia Lumia 800 назван “Мобильником года”Nokia Lumia 800 назван “Мобильником года”09:54 21.11.2011

    Спустя два дня после официального начала продаж Nokia Lumia 800 был назван «Мобильником года». Своему новому званию новый Windows Phone Mango-смартфон должен быть благодарен читателям британского журнала What Mobile, среди которых в течение всего прошлого месяца проводился опрос.

  • Фотографии Nokia 801 для КитаяФотографии Nokia 801 для Китая09:51 21.11.2011

    Специально для китайского рынка Nokia подготавливает смартфон Nokia 801. Это никакой не преемник N8, а просто измененная версия телефона с Symbian Anna, 8-Мп камерой с двойной LED-вспышкой, поддержкой TD-HSPA. Вслед за фотографиями в Сети должен появиться официальный анонс с дополнительной информацией.


купить телефон в Одесі, Україна

eStore – інтернет-магазин Apple