Apple патентует сенсорную панель, чувствительную к силе нажатия

17:02, 08.10.2007

Не секрет, что Apple очень любит сенсорные панели и недавно опубликованный патент лишь усиливает это убеждение.

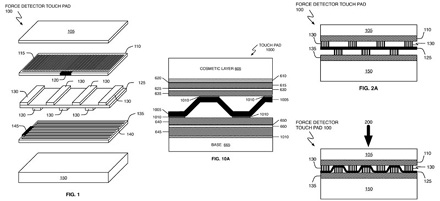
Документация рассматривает метод создания сенсорной панели, чувствительной к силе нажатия. Apple позиционирует технологию как «новый элемент управления». Также отмечается, что «информация о силе нажатия может быть использована как дополнительное измерение в целях обеспечения команд и контрольных сигналов электронного устройства» и патент описывает, каким образом можно поместить под поверхностью сенсорной панели специальные мембраны для определения силы нажатия.

Примечательно, что суть идёт об «описании сенсорных панелей, подобных используемым компанией в линейках ноутбуков MacBook» и вопрос об использовании подобных технологий в сенсорных панелях мобильных и портативных устройств (как, например, собственный Apple iPhone) остаётся открытым.

Джерело: mobime.ru


Обговорення новини

Коментариев пока никто не оставил. Станьте первым!
:)8-):cry:=-):-D:angry::-[:(:devil:,)
укажите цифры с картинки
 

Попередні новини

  • Эвакуация из-за мобильного телефонаЭвакуация из-за мобильного телефона16:57 08.10.2007

    Несмотря на жесткие меры правительства, расширение полномочий спецслужб и ограничение личных свобод, жители Америки до сих пор находятся в страхе перед терроризмом. И недавнее происшествие дало этому свое подтверждение.

  • Анонс новых моделей Hewlett-PackardАнонс новых моделей Hewlett-Packard16:53 08.10.2007

    Компания Hewlett-Packard представила так называемую «дорожную карту», где отображены все новинки текущего и будущего года. Отметим, что новый модельный ряд iPaq пополнился как смартфонами и коммуникаторами, так и КПК, и даже GPS-навигатором.

  • Новая версия коммуникатора Advanced/W-ZERO3 esНовая версия коммуникатора Advanced/W-ZERO3 es16:48 08.10.2007

    Японский сотовый оператор Willcom анонсировал выход в продажу новой версии (1.02a) коммуникатора Advanced/W-ZERO3 es. Предыдущая версия устройства была не лишена недостатков, но новая модель превосходит ее по многим параметрам.


купить телефон в Одесі, Україна

eStore – інтернет-магазин Apple