Новый патент Apple — многофункциональный игровой интерфейс для устройств с сенсорным экраном

15:27, 12.12.2007

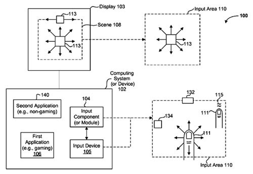
Владельцам мобильных телефонов хорошо известно, что для экономии памяти при играх приходится блокировать или закрывать все прочие приложения. Таким образом телефон становится абсолютно бесполезным для любых действий, за исключением самой игры. При входящем звонке или загрузке веб-страницы игра прерывается, что с точки зрения многих пользователей не совсем удобно. Решение этой проблемы предложила компания Apple, запатентовав многофункциональный игровой интерфейс, предназначенный для устройств с сенсорным дисплеем, таких как iPhone и iPod Touch.

Патент Apple

Интерфейс позволяет владельцам этих устройств осуществлять одновременное управление игрой и каким-либо другим приложением. Разработка Apple получила название «технология интерактивного ввода для портативных электронных устройств». В ее основе лежит следующий принцип: система перенаправляет действия на то или иное приложение в зависимости от того, в каком месте дисплея и каким образом осуществляется нажатие. Таким образом, по задумке Apple, пользователь получит больший контроль и большие возможности, которые обеспечат быстроту и эффективность работы с устройством.

Джерело: portavik.ru


Обговорення новини

Коментариев пока никто не оставил. Станьте первым!
:)8-):cry:=-):-D:angry::-[:(:devil:,)
укажите цифры с картинки
 

Попередні новини

  • Opera Mobile 9 выйдет в первой половине 2008 годаOpera Mobile 9 выйдет в первой половине 2008 года15:23 12.12.2007

    В прессу просочилась информация о том, что в первой половине следующего года Opera Software выпустит новую версию мобильного браузера (не Mini). По слухам, выпуск продукции с предустановленным браузером Opera Mobile 9 начнет один из крупнейших мировых производителей мобильных устройств.

  • В Поднебесной прошло мероприятие Nokia Our Internet Life 2008В Поднебесной прошло мероприятие Nokia Our Internet Life 200815:17 12.12.2007

    Финская компания Nokia провела в Китае торжественное мероприятие под названием Nokia Our Internet Life 2008. Во время мероприятия были продемонстрированы последние мобильные новинки, начиная от телефонов и заканчивая новейшими сервисами и технологиями.

  • Обновленное приложение Spb Wallet 1.5 для КПК и смартфоновОбновленное приложение Spb Wallet 1.5 для КПК и смартфонов15:14 12.12.2007

    Этим летом, как Вы помните, компания Spb Software House выпустила приложение Spb Wallet для КПК и смартфонов на базе Windows Mobile Classic и Professional. Сейчас компания рада сообщить о том, что новая версия Spb Wallet 1.5 поддерживает и устройства, работающие под управлением Windows Mobile Standard.


купить телефон в Одесі, Україна

eStore – інтернет-магазин Apple