Blackberry патентует ощущение кобуры

17:52, 18.01.2008

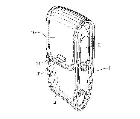
Компания Blackberry подала патентную заявку на технологию для мобильников, позволяющую телефону определить "нахождение в кобуре".

Как часто бывает, что вы случайно нажимаете кнопки в процессе извлечения либо помещения телефона в кобуру? А ведь бывает и так, когда, находясь в кобуре, аппарат сам набирает номера?

Решить проблему раз и навсегда взялись инженеры Blackberry, и, нужно признать, у них это получилась. Новая технология, запатентованная компанией, позволяет телефону "ощутить" близость магнитной защёлки кобуры, после чего девайс отключает некоторые несовместимые с кобурой функции, например сенсорный дисплей или клавиатуру телефона.

Джерело: Mobime


Обговорення новини

Коментариев пока никто не оставил. Станьте первым!
:)8-):cry:=-):-D:angry::-[:(:devil:,)
укажите цифры с картинки
 

Попередні новини

  • Мобильные спасут японцевМобильные спасут японцев17:45 18.01.2008

    Вскоре в Японии будет введена в действие система оповещения пользователей мобильных телефонов о возможном землетрясении. Не секрет, что Япония находится в сейсмически активной зоне и довольно часто ее население страдает от подземных толчков.

  • Проблемы с прошивкой 1.1.3 для iPhoneПроблемы с прошивкой 1.1.3 для iPhone16:09 18.01.2008

    От новой версии прошивки 1.1.3 для iPhone пользователи телефона от Apple ожидали лишь хорошего - улучшений в работе SMS, изменения хомскрина. Однако всё оказалось не столь радужно. Есть сообщения от пользователей, установивших обновление, которые жалуются на потерю совместимости с некоторыми моделями Bluetooth-гарнитур.

  • Два ультрамобильных ПК от Inventec награждены премией IF Design AwardДва ультрамобильных ПК от Inventec награждены премией IF Design Award15:52 18.01.2008

    Подтвердились слухи о том, что тайваньская компания Inventec работает над созданием двух новых моделей UMPC (MID). Вероятнее всего, эти модели появятся на рынке под названиями Inventec UMPC 7-A и UMPC 5-D.


купить телефон в Одесі, Україна

eStore – інтернет-магазин Apple