Концепт телефона Sony Ericsson с тремя способами ввода

17:32, 17.03.2008

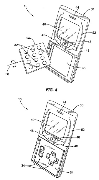
Недавно был опубликован патент Sony Ericsson, касающийся телефона с тремя способами ввода. Компания предлагает использовать одну встроенную в телефон клавиатуру и две клавиатуры, прикрепленные к вращающемуся флипу. Пользователь в любое время может использовать любой из предлагаемых способов ввода.

Иллюстрации показывают набор из обычной телефонной клавиатуры, клавиатуры с игровыми кнопками и сенсорной поверхности. Вообще же выбор клавиатур может быть произвольным.

Вряд ли мы увидим нечто подобное в коммерческих устройствах, но идея интересная.

Теги:Sony Ericsson

Джерело: Onliner


Обговорення новини

Коментариев пока никто не оставил. Станьте первым!
:)8-):cry:=-):-D:angry::-[:(:devil:,)
укажите цифры с картинки
 

Попередні новини

  • Псевдо-стерео Bluetooth гарнитура от JabraПсевдо-стерео Bluetooth гарнитура от Jabra17:30 17.03.2008

    Производитель мобильных аксессуаров Jabra давно известен как один из лидирующих производителей Bluetooth-гарнитур, применяющий передовые технологии. Новая разработка компании – гарнитура Jabra BT8040 – полностью отвечает одной из главных целей владельца гарнитуры – избавиться от проводов и слушать музыку на мобильном телефоне через удобные беспроводные наушники.

  • Глава HTC: «Мы не считаем, что Windows Mobile и Android будут конкурировать между собой»Глава HTC: «Мы не считаем, что Windows Mobile и Android будут конкурировать между собой»17:27 17.03.2008

    Глава HTC в интервью Laptop Mag сообщил, что компания не считает, что Windows Mobile и Android будут конкурировать между собой. «Мы не считаем, что Windows Mobile и Android будут соперничать между собой, мы просто хотим расширить наш товарный класс», — объясняет Питер Чоу.

  • Количество абонентов «Киевстара» на 1 марта 2008 годаКоличество абонентов «Киевстара» на 1 марта 2008 года17:24 17.03.2008

    По данным пресс-службы оператора «Киевстар», общее количество абонентов компании по состоянию на 1 марта составило 23,711 млн. абонентов. Из них 1,261 млн. контрактных и корпоративных пользователей, 12,538 млн. абонентов предоплаченного сервиса «Киевстар», 9,12 млн. абонентов Djuice и 0,792 млн. пользователей «Мобилыча».


купить телефон в Одесі, Україна

eStore – інтернет-магазин Apple