Samsung i907 получил одобрение FCC

21:02, 14.07.2008

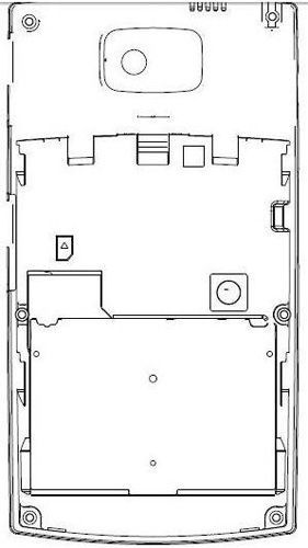
Сайт Федеральной Комиссии Связи США (FCC) в очередной раз послужил источником информации о новом мобильном телефоне. В этот раз сертификацию прошел аппарат производства компании Samsung с индексом i907. 

Samsung i907

Компания Samsung еще не анонсировала устройство с таким индексом, и даже неофициальные источники информации ничего не сообщали о модели с индексом i907. Однако некоторые эксперты смогли увидеть в схематическом изображении Samsung i907 очертания коммуникатора Samsung i900 Omnia, а изменение индекса они объясняют тем, что аппарат предназначается для оператора AT&T. Ситуация осложняется тем, что соображения конфиденциальности не позволяют FCC опубликовать технические характеристики телефона Samsung i907.

Верны ли эти предположения или нет, мы узнаем с течением времени.

Теги:Samsung

Джерело: мАбила


Обговорення новини

Коментариев пока никто не оставил. Станьте первым!
:)8-):cry:=-):-D:angry::-[:(:devil:,)
укажите цифры с картинки
 

Попередні новини

  • Мобильный телефон K320 от BBK ElectronicsМобильный телефон K320 от BBK Electronics15:00 14.07.2008

    Компания BBK Electronics представила мобильный телефон K320, отличающийся неплохими мультимедийными возможностями. На рынок новинка поступит уже в июле нынешнего года. Стоимость пока не известна.

  • Желтизна дисплея в iPhone 3G устраняется перепрошивкойЖелтизна дисплея в iPhone 3G устраняется перепрошивкой14:57 14.07.2008

    После появления iPhone 3G в продаже многие пользователи заметили, что дисплей аппарата имеет желтоватый оттенок. Производитель заявляет, что это было сделано для того, чтобы отображаемые цвета казались более натуральными и теплыми, но многим пользователям это не понравилось.

  • Серия Walkman пополнится телефоном Sony Ericsson FengСерия Walkman пополнится телефоном Sony Ericsson Feng14:54 14.07.2008

    Шведско-японский альянс активно работает над увеличением количества моделей в линейке музыкальных телефонов Walkman. Вскоре она обзаведется еще одной новинкой, название которой звучит как Sony Ericsson Feng.


купить телефон в Одесі, Україна

eStore – інтернет-магазин Apple