Apple готовит складной iPad? Новый патент из Купертино

23:59, 05.02.2020

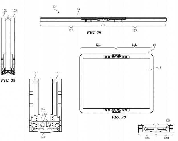
Если всего пару-тройку лет назад складные устройства казались чем-то далёким и недостижимым, то уже сегодня на рынке представлены несколько коммерческих продуктов со складными дисплеями. Не желая отставать от популярных трендов, компания Apple приступила к проектированию собственного гибкого девайса.

Интересной особенностью патента является новый шарнирный механизм, предотвращающий повреждение дисплея и появление складок. Размер и форм-фактор устройства скорее напоминает планшет, чем смартфон, а значит данная разработка может лечь в основу будущих iPad. Однако, стоит иметь ввиду, что появление подобного документа вовсе не означает, что разработка однажды доберётся до прилавков магазинов, а если это и случится, то почти наверняка не раньше 2021-22 года.

Джерело: Mobiltelefon.Ru


Обговорення новини

Коментариев пока никто не оставил. Станьте первым!
:)8-):cry:=-):-D:angry::-[:(:devil:,)
укажите цифры с картинки
 

Попередні новини

  • За что будем переплачивать? Все особенности Samsung Galaxy Buds+За что будем переплачивать? Все особенности Samsung Galaxy Buds+23:44 05.02.2020

    Все меньше времени остается до официальной презентации новинок Samsung Galaxy. До сих пор одной из наименее раскрытых тем были наушники Galaxy Buds+, но теперь, благодаря @evleaks, завеса пала и над ними.

  • Первое фото и цены Xiaomi Mi 10Первое фото и цены Xiaomi Mi 1023:42 05.02.2020

    Отлично зарекомендовавший себя инсайдер под ником Xiaomishka, который регулярно публикует интересные сведения о новинках мобильной индустрии, опубликовал новую информацию о смартфоне Xiaomi Mi 10.

  • Xiaomi намекает на новый Xiaomi Mi NoteXiaomi намекает на новый Xiaomi Mi Note01:59 05.02.2020

    Партнер отделения Xiaomi Industry Investment и известный аналитик Пан Цзютан (Pan Jiutang) опубликовал на своей страничке в социальной сети Weibo пост, в котором он выразил восхищение оригинальным смартфоном Xiaomi Mi Note.


купить телефон в Одесі, Україна

eStore – інтернет-магазин Apple