Apple патентует треугольные и круглые аккумуляторы

11:26, 23.01.2012

Важнейшим элементом любого портативного устройства на сегодняшний день является батарея. Именно от ее емкости зависит, как часто вам придется искать розетку, и каких габаритов будет смартфон. Пока что существующие аккумуляторы производятся исключительно в формате прямоугольника, который сложно вписывать в тесное нутро смартфона. Да и сделать его более емким без заметного утолщения устройства тоже не получается. Но когда-нибудь все изменится благодаря новому патенту Apple.

Инженеры компании поразмыслили и задались вопросом "а почему, собственно, батарейка должна быть плоской и прямоугольной?". И правда, ведь в корпусе вполне может остаться больше места, если компоновать электронику не под брусок элемента питания, а максимально эффективным образом. Вот только полученная аккумуляторная ниша может быть неравномерной по глубине и какой-нибудь нестандартной формы. Ну и ладно - надо просто сделать батарею L-образной, или в форме треугольника.

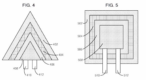
19 января 2012г. свет увидел патент от Apple, описывающий технологию производства батареи из различных по размерам пластин электродов. Использование такой неоднородности структуры позволяет создавать элементы питания самых причудливых форм, не ограничивая себя даже в толщине по всей поверхности. Взгляните, как можно было бы разместить новую батарею в том же iPad:

Заштрихованная область - это аккумулятор нестандартной формы, размещенный в рамке устройства. Подобное расположение позволило бы сэкономить место для более мощных внутренних компонентов.


Еще пример оригинальной формы. Даже сложно представить, куда ее можно уместить. У меня, к примеру, подобная батарейка ассоциируется исключительно с корпусом старой GPS-антенны.

Патенты и готовая продукция обычно разделены годами, если не десятилетиями. Так что аккумуляторной революции не стоит ожидать в iPhone 6, но вы только представьте себе, какие возможности могут открыться для производства гаджетов без оглядки на толстые черные прямоугольники современных батарей.

Джерело: iphones.ru


Обговорення новини

МАша: кааапец)) они не хотят сделать батарею в виде яблока)))))))?
ответить11:32 23.01.2012

:)8-):cry:=-):-D:angry::-[:(:devil:,)
укажите цифры с картинки
 

Попередні новини


купить телефон в Одесі, Україна

eStore – інтернет-магазин Apple