Apple придумала «наушники», которые проигрывают музыку в уши и в череп

21:31, 28.07.2020

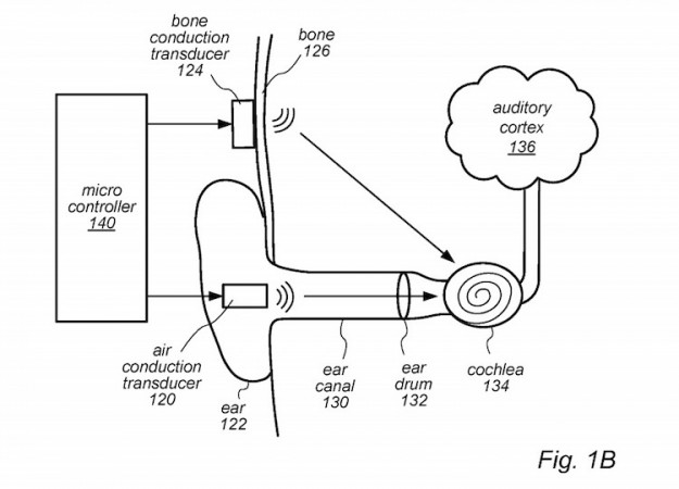
Интернет-издание AppleInsider обнаружило патентную заявку Apple, которая свидетельствует о том, что калифорнийский техногигант разрабатывает гибридную аудиосистему, основанную на принципе проводимости звука костями черепа. Эта технология позволяет слушать музыку без традиционных наушников, улавливая вибрации определёнными точками черепа.

Стоит отметить, что эта идея не нова и на рынке уже довольно давно существуют подобные устройства, однако из-за их сомнительного удобства и посредственного качества звука они по прежнему остаются диковинкой. Костная проводимость обеспечивает хорошую передачу басов, а вот с высокими частотами наблюдаются ощутимые проблемы. К тому же, подобные наушники могут быть неудобны для повседневного использования.

Запатентованная Apple система костной проводимости звука отличается необычным подходом, поскольку она сочетает собственно костную проводимость с обычной передачей звука по воздуху, благодаря чему должны быть преодолены недостатки других подобных систем.

Компания объясняет, что аудиосигнал можно фильтровать и распределять на три категории, соответствующие низким, средним и высоким частотам. Комбинированный сигнал низких и средних частот будет передаваться через череп пользователя, а высокочастотный компонент будет воспроизводиться привычным образом. Патент предполагает, что излучатель высоких частот не будет перекрывать ушной канал, как при использовании обычных наушников. Таким образом, система, разработанная Apple, сочетает преимущества обеих способов передачи звука.

Стоит отметить, что ранее компания исследовала технологию костной проводимости, чтобы обеспечить работу функции активного шумоподавления. Только в этом случае принцип действия был обратный: устройство считывало вибрации с определённых участков черепа для подавления шума.

Джерело: 3DNews.ru


Обговорення новини

Коментариев пока никто не оставил. Станьте первым!
:)8-):cry:=-):-D:angry::-[:(:devil:,)
укажите цифры с картинки
 

Попередні новини


купить телефон в Одесі, Україна

eStore – інтернет-магазин Apple