|
|
|
|
|
|
|
Архів новин за 23 березня 2019 года
Немногим больше килограмма: Xiaomi выпустит новый лэптоп Mi Notebook Air23 березня 2019 Китайская компания Xiaomi опубликовала тизер-изображение, говорящее о скором выходе тонкого и лёгкого ноутбука Mi Notebook Air нового поколения. Главной особенностью лэптопа станет небольшой вес — всего 1,07 килограмма. Для сравнения: нынешний ноутбук Apple MacBook Air весит от 1,25 килограмма.
Xiaomi добавила в камеру MIUI поддержку Google Lens23 березня 2019 На этой неделе компания Xiaomi не только выпустила смартфоны Xiaomi Mi Pay и Redmi Go in на территории Индии, но и добавила интересную возможность в стоковое приложение камеры в прошивке MIUI.
Новые iPhone получат 18-ваттную зарядку и кабель с разъемами USB-C и Lightning23 березня 2019 Японский блог Macotakara опубликовал новые сведения, полученные от источника из цепочки поставок комплектующих для устройств Apple, согласно которым грядущие смартфоны iPhone сохранят разъемы Lightning.
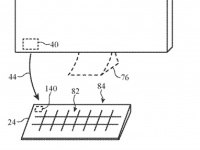
Компьютеры Apple iMac смогут подавать энергию на устройства ввода беспроводным способом23 березня 2019 Управление США по патентам и торговым маркам (USPTO) обнародовало патентную заявку Apple на любопытную разработку в области компьютерных устройств. Документ носит название «Система беспроводной зарядки с радиочастотными антеннами» (Wireless Charging System With Radio-Frequency Antennas).
Apple выпустит первые полностью беспроводные наушники под брендом Beats уже в апреле23 березня 2019 Компания Apple выпускает самые популярные в мире полностью беспроводные наушники. На днях вышло обновлённое поколение AirPods, а вскоре, если верить слухам, Apple выпустит ещё одну новинку.
После десятилетней юридической битвы южнокорейский регулятор снизил штраф Qualcomm23 березня 2019 Корейская комиссия по справедливой торговле (KFTC) сообщила в четверг о снижении размера штрафа, наложенного на американского производителя чипов Qualcomm десять лет назад, на 18 % до $200 млн.
Утечка продолжается. Huawei P30 Pro в трех официальных цветах красуется на живом фото23 березня 2019 На этой неделе появилось довольно много материалов по флагманским смартфонам Huawei P30 и Huawei P30 Pro, которые были замечены на официальных рекламных баннерах и в не очень качественных видеороликах.
Moto Z4 получит одинарную камеру и сканер в экране23 березня 2019 Пока все производители «размножают» камеры в своих смартфонах, Lenovo готовится отказаться от двойных модулей в пользу одинарных. На MWC 2019 компания рассказала, что одинарной будет камера в модели Z6 Pro (причём вместо качества фото компания пообещала прорыв в видео), а теперь на одинарную камеру переходит и Motorola.
|
|
|
|