Huawei запатентувала власний квантовий комп’ютер

14:37, 16.06.2022

Компанія Huawei опублікувала новий патент для широкого загалу у Китаї, який виходить за межі звичних патентів на смарт-годинники, навушники чи смартфони. Представлений патент Huawei Technologies Co. Ltd має відношення до квантових обчислень, що є революційним кроком на шляху розвитку технологій протягом наступних 10 років.

Патент внесений до переліку за номером CN114613758A. Як зазначено у патентній документації, Huawei розробила новий тип «квантового чипсета і квантового обчислювального пристрою».

Новий тип квантових обчислювальних пристроїв від Huawei націлений на вирішення наявних проблем виробництва квантових чипсетів, зокрема складності їх виробництва та низької продуктивності порівняно із сучасними обчислювальними чипсетами. У результаті не лише спроститься процес створення чипсетів, а й збільшиться обсяг виробництва та його ефективність. Це сприятиме зростанню частки ринку в цій сфері.

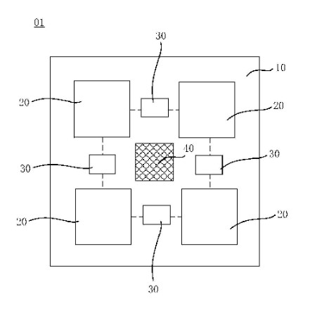
У патентній документації зазначено основу архітектури нового квантового чипсета, розробленого Huawei:

  • підкладка, субчип «M», конструкція зв’язку і конструкція придушення модів (власних коливань) резонатора;
  • кожен субчип включає «N» кубітів, а субчипи «M» розташовані на поверхні підкладки на певній відстані;
  • конструкція зв’язку використовується для взаємодії між субчипами «M»;
  • конструкція придушення модів резонатора розташована на межі кожного субчипа та/або у проміжку між субчипами «M». Вона застосовується для збільшення частоти модів резонатора квантового чипсета.

«M» і «N» є додатними цілими числами. «M» більше за 1, а «N» більше або дорівнює 1.
Субчипи «M» у квантовому чипсеті зменшать навантаження на виробництво і покращать його ефективність. Наприклад, якщо субчип випадково пошкоджений, його видаляють. А весь чипсет можна відремонтувати або повторно використати, щоб не збільшувати кількість електронного сміття.

Квантове обчислення, що є технологією наступного покоління, націлене на прискорення швидкості обчислення у 10 разів порівняно із наявним показником. Наприклад, припустимо, що сучасному суперкомп’ютеру знадобилося би 108 днів (3 місяці) на обчислення 62,8 трлн знаків числа пі. Теоретично майбутній квантовий комп’ютер зміг би обчислити такий обсяг усього за 10 днів (1,5 тижня).

Хоча майбутні квантові комп’ютери все ще пребувають на стадії розробки, перспективи квантових обчислень виглядають досить привабливими. Вони гарантуватимуть швидший пошук в інтернеті, точніший прогноз погоди, миттєвий аналіз фінансових даних, скорочуватимуть тривалість поїздок, допомагатимуть у пошуку ефективніших ліків від раку тощо.

Джерело: SmartPhone.ua


Обговорення новини

Коментариев пока никто не оставил. Станьте первым!
:)8-):cry:=-):-D:angry::-[:(:devil:,)
укажите цифры с картинки
 

Попередні новини

  • Системи Tesla Powerwall 2 з'явилися на ДонеччиніСистеми Tesla Powerwall 2 з'явилися на Донеччині21:42 14.06.2022

    Tesla Powerwall 2 вже забезпечує місцевих інтернет-провайдерів резервним живленням, попри постійні обстріли та відсутність електрики. Завдяки потужному акумулятору та сонячним панелям від Ілона Маска лікарі, комунальники, пожежники та жителі міст будуть залишатися на зв'язку.

  • lifecell перезапускає оновлений платіжний застосунок Paycelllifecell перезапускає оновлений платіжний застосунок Paycell16:13 13.06.2022

    Мобільний платіжний сервіс Paycell, за допомогою якого можна зручно та безпечно здійснювати усі найпоширеніші фінансові операції в смартфоні, знову доступний для абонентів lifecell.

  • Обзор возможностей кондиционеров Mitsubishi Electric серии MSZ-EF: ТОП сегментОбзор возможностей кондиционеров Mitsubishi Electric серии MSZ-EF: ТОП сегмент01:05 12.06.2022

    Кондиционеры Mitsubishi Electric многие считают эталоном в сегменте климатических устройств для охлаждения и обогрева воздуха в помещении. Поэтому японский бренд, вслед за корейскими производителями, уделил внимание не только аппаратной начинке и технологиям, но и дизайну.


купить телефон в Одесі, Україна

eStore – інтернет-магазин Apple