LG проектирует смартфон с гибким скручивающимся дисплеем

09:40, 29.08.2020

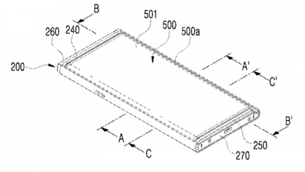
Управление США по патентам и торговым маркам (USPTO) выдало компании LG Electronics патент на «Устройство с гибким дисплеем» (Flexible display device). В документе описывается новый смартфон с вытягивающимся экраном.

По задумке LG, гаджет получит гибкий сенсорный дисплей, который будет скручиваться внутри корпуса. Это позволит использовать аппарат в нескольких режимах, в том числе в виде небольшого планшета.

В обычном состоянии владелец будет иметь дело с традиционным смартфоном моноблочного типа. Вытянув же экран из корпуса, пользователь сможет увеличить полезную площадь панели примерно вдвое.

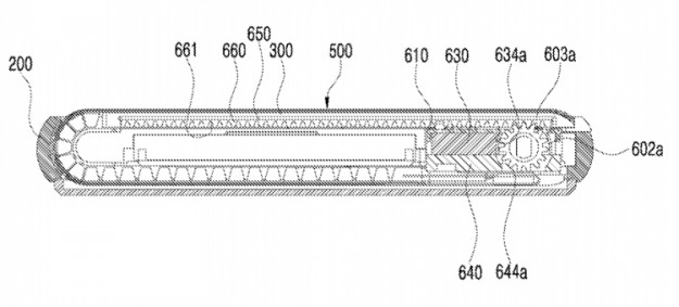
Отмечается, что гибкий дисплей может быть выполнен по технологии органических светодиодов (OLED) или электронной бумаги. В патенте описывается конструкция модуля, обеспечивающего возможность скручивания и вытягивания экрана.

Как можно видеть на иллюстрациях, для аппарата предусмотрено наличие симметричного порта USB Type-C. Кроме того, говорится о наличии инфракрасного приёмопередатчика.

Заявка на патент была направлена в сентябре прошлого года, а выдан документ в текущем месяце. О том, когда смартфон с описанной конструкцией может появиться на коммерческом рынке, ничего не сообщается.

Джерело: 3DNews.ru


Обговорення новини

Коментариев пока никто не оставил. Станьте первым!
:)8-):cry:=-):-D:angry::-[:(:devil:,)
укажите цифры с картинки
 

Попередні новини

  • Apple добивает Epic Games. Зачем Fornite, когда есть PUBG?Apple добивает Epic Games. Зачем Fornite, когда есть PUBG?09:37 29.08.2020

    Компания Apple сразу же после удаления учетной записи Epic Games из магазина приложений App Store начала активно рекламировать многопользовательский онлайновый шутер PUBG Mobile.

  • Детский трикотаж лучшего качестваДетский трикотаж лучшего качества09:31 29.08.2020

    Трикотажная одежда для детей представляет собой идеальное решение на современном рынке. Обусловлено это наличием множества эксплуатационных преимуществ. Но получить их очень непросто по объективным причинам.

  • Ждать осталось недолго: Xiaomi Mi 11 может получить камеру под экраномЖдать осталось недолго: Xiaomi Mi 11 может получить камеру под экраном22:19 28.08.2020

    Xiaomi не смогла реализовать максимально безрамочный формат дисплея в этом году, но уверенна, что сделает это в следующем. Сегодня компания опубликовала сообщение в своем блоге, где напомнила об успехах на поприще инноваций (в частности, в линейке Mi 10), а также сообщила о том, что третье поколение подэкранной камеры подходит для коммерческой реализации, которая состоится в 2021 году.


купить телефон в Одесі, Україна

eStore – інтернет-магазин Apple