Microsoft запатентовала мышку с гибким корпусом

21:06, 09.11.2021

В базе данных PatentScope Всемирной организации интеллектуальной собственности был обнаружен патент на сгибающуюся компьютерную мышь от Microsoft. Заявка на регистрацию патента была подана компанией ещё в марте этого года, но опубликован он был 4 ноября.

В документе описывается манипулятор, очень похожий на нынешнюю складную беспроводную мышку Microsoft Arc, однако способный становится ещё более плоским в разложенном виде и при этом более простым в переноске по сравнению с нынешним решением.

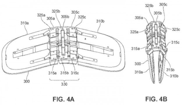
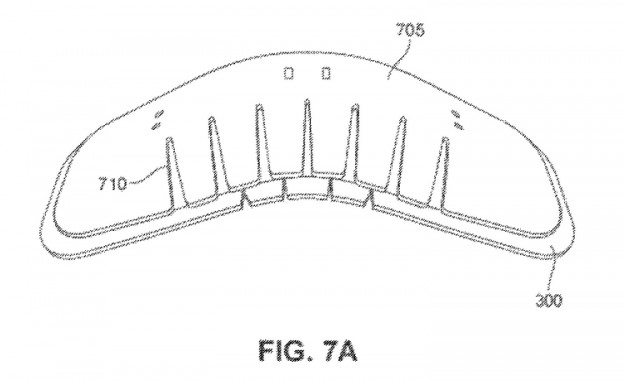
«Представленная складывающаяся компьютерная мышь имеет деформирующийся корпус, предлагающий две конфигурации использования. В развёрнутом состоянии мышь способна принимать и передавать входящие сигналы для управления курсором. В свёрнутом состоянии одна часть деформируемого корпуса накладывается на другую часть деформирующего корпуса», — говорится в патенте устройства.

Предоставленные Microsoft иллюстрации демонстрируют, что именно они имеют в виду.


Компания также указывает об использовании некоей «расширяющейся оболочки» поверх мыши.

Согласно патенту, в состав мыши входит сенсор движения, который определяет перемещение манипулятора в пространстве. Также упоминается о некоем внутреннем компоненте «для беспроводной передачи данных о тактильном вводе и о перемещении манипулятора на вычислительное устройство». Напомним, что некоторые версии Microsoft Arc оснащены специальной сенсорной панелью, служащей в качестве колеса прокрутки вверх и вниз.

По словам Microsoft, современные компьютерные мышки нередко оказываются «слишком громоздкими и неудобными в переноске и использовании вместе с портативными устройствами». Конечно, на рынке существует великое множество очень компактных решений, но по мнению Microsoft, «они не обладают эргономичным дизайном и часто неудобны в использовании».

Само существование патента не гарантирует того, что новая складывающаяся мышка Microsoft выйдет когда-нибудь в свет. Портал ArsTechnica связался с представителями компании, которые сообщили, что производитель не комментирует свои будущие продукты.

Актуальные модели мышек Microsoft Arc тоже могут складываться в арочную конструкцию или становиться плоскими. Подобную конструкцию компания использует ещё с 2010 года. Однако они не способны складываться вдвое.

Если покопаться в истории ещё глубже, то можно вспомнить Arc первого поколения, выпущенную в 2008 году.

Эта модель была оснащена механизмом, позволявшим складывать манипулятор.

Джерело: 3DNews.ru


Обговорення новини

Коментариев пока никто не оставил. Станьте первым!
:)8-):cry:=-):-D:angry::-[:(:devil:,)
укажите цифры с картинки
 

Попередні новини


купить телефон в Одесі, Україна

eStore – інтернет-магазин Apple