OPPO придумала необычный контроллер для мобильных игр и смартфон с подсоединяемым экраном

09:47, 07.04.2021

Китайская компания OPPO, один из крупнейших в мире поставщиков смартфонов, размышляет над выпуском любопытного манипулятора, предназначенного для мобильных игр.

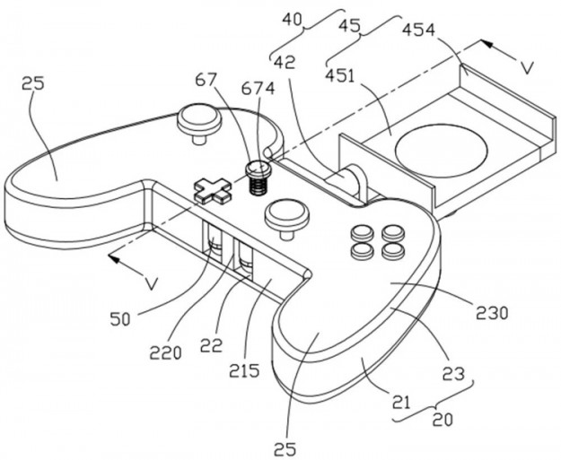
Описание контроллера обнаружено в патентной документации. Как можно видеть на изображении ниже, устройство оборудовано традиционными джойстиками, крестовиной и набором кнопок.

Главная особенность манипулятора — два отсека в нижней части, которые предназначены для хранения полностью беспроводных наушников погружного типа. По всей видимости, находясь внутри контроллера, модули-вкладыши смогут подзаряжаться от встроенного аккумулятора.

В верхней части устройства предусмотрен поворотный держатель для установки смартфона. Раздвижное крепление позволит размещать аппараты разного размера.

Кроме того, обнаружился патент OPPO на смартфон с подсоединяемым вспомогательным дисплеем. По задумке компании, дополнительный полноразмерный экран будет крепиться к боковой части сотового аппарата. В результате, пользователь получит смартфон-книжку, который сможет заменить планшетный компьютер.

Впрочем, пока OPPO лишь запатентовала необычные гаджеты. Информации о возможных сроках их появления на коммерческом рынке нет.

Джерело: 3DNews.ru


Обговорення новини

Коментариев пока никто не оставил. Станьте первым!
:)8-):cry:=-):-D:angry::-[:(:devil:,)
укажите цифры с картинки
 

Попередні новини


купить телефон в Одесі, Україна

eStore – інтернет-магазин Apple