Складной iPhone показался в новом патенте Apple

11:04, 17.02.2019

2019 год обещает нам ряд первых смартфонов с изгибаемым экраном. Прежде всего, это, конечно, Samsung Galaxy X, который должен быть показан публике уже на следующей неделе. Впрочем, каждый день появляются слухи или новости о компаниях, работающих над гибкими смартфонами: Xiaomi, Huawei, LG, Lenovo, Motorola либо уже имеют на руках рабочие прототипы, либо ведут работы в этом направлении.

Последний патент Apple говорит о том, что и в Купертино обдумывают подобные концепции аппаратов с изгибаемым или складным дисплеем, позволяющие получить преимущества планшета в карманном телефоне. Недавно Apple обновила патент рисунками складного телефона. Это развитие патента, первоначально поданного в 2011 году и обновлённого в 2016 году, на котором изображён iPhone с изгибаемым дисплеем.

Последние обновления патента появились очень вовремя: 20 февраля Samsung должна рассказать подробнее о своём изгибаемом телефоне Galaxy X, когда анонсирует серию флагманов Galaxy S10. Возможно, Apple хочет подчеркнуть, что и в её лабораториях работают над подобными прототипами, не считая, впрочем, технологию пока готовой к выходу на рынок.

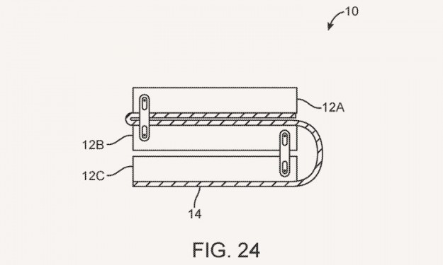
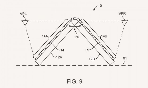
На рисунках показан телефон-раскладушка, который изгибается вдвое, что делает его компактнее. Подобный подход применяется в китайском Royole FlexPai и в патенте Motorola Razr. В свою очередь озвученные и показанные публике идеи Samsung и Xiaomi больше похожи на превращение телефона в мини-планшет.

Особое внимание в патенте Apple уделено различным способам реализации шарниров и корпуса вокруг гибкого OLED-дисплея в местах изгибов. Есть также один рисунок дизайна с двумя изгибами экрана. На рисунках приведены гибкие экраны, складывающиеся внутрь и наружу. Подобные идеи, к слову, могут быть использованы не только в секторе смартфонов, но и в продуктах класса MacBook или iPad.

Разумеется, обновление старого патента Apple не является гарантией, что компания всерьёз работает над чем-то подобным и, тем более, собирается выпустить складной iPhone в 2019 году.

Джерело: 3DNews.ru


Обговорення новини

Коментариев пока никто не оставил. Станьте первым!
:)8-):cry:=-):-D:angry::-[:(:devil:,)
укажите цифры с картинки
 

Попередні новини


купить телефон в Одесі, Україна

eStore – інтернет-магазин Apple