
Компания Apple работает над технологией, которая позволит разместить дактилоскопический датчик под поверхностью экрана iPhone. То есть, по сути Touch ID может вернуться в виде подэкранного сканера.
Напомним, с выходом смартфона iPhone X в 2017 году Apple заменила дактилоскопический датчик Touch ID на систему идентификации пользователей по лицам Face ID, которая использует набор камер TrueDepth.
Но многие пользователи считают, что Face ID является не настолько надежным решением, причем в YouTube есть предостаточно видеороликов, которые демонстрируют, насколько легко систему можно обмануть.
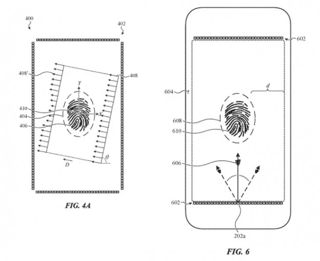
В новом патенте Apple компания описывает систему акустической визуализации для экрана смартфона. Данное решение использует акустические преобразователи, которые вызывают вибрацию экрана. По задумке, распознавание отпечатков пальцев может производиться на всей площади экрана.
Другой патент, названный «Система акустической визуализации для пространственной демодуляции акустических волн», описывает похожую систему, но в нем говорится о более тщательном выборе места для размещения преобразователя. В этом патенте четко указано, что распознаваемым объектом является палец, а поверхность может быть сделана из стекла, сапфира или металла.