У компании Apple теперь есть патент на лоток для micro-SIM

14:27, 26.12.2012

Последний патент, полученный компанией Apple, как ни странно, но является патентом на лоток для micro-SIM карточек.

Со слов некоторых аналитиков, Apple необходим этот патент с одной простой целью – дальнейшего давления на ближайших конкурентов.

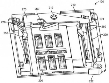
Новый патент Apple описывает лоток для micro-SIM карт с небольшой системой, которая позволяет вставлять и вынимать SIM-карту с помощью поршня. Последнее, кстати, необходимо для того, что бы избежать повреждения чипов. Казалось бы, все бы и ничего, но этот патент описывает несколько любопытных решений, которые ранее были замечены в той или иной мере, у других производителей. Так выгода от этого патента для Apple очевидна.

А вот конкурентам теперь придется быть аккуратнее, что бы не нарваться на «зубастых» адвокатов «яблочного» производителя.

Джерело: SmartPhone.ua


Обговорення новини

Коментариев пока никто не оставил. Станьте первым!
:)8-):cry:=-):-D:angry::-[:(:devil:,)
укажите цифры с картинки
 

Попередні новини


купить телефон в Одесі, Україна

eStore – інтернет-магазин Apple