Новый iPhone получит поддержку NFC?

10:03, 12.07.2010

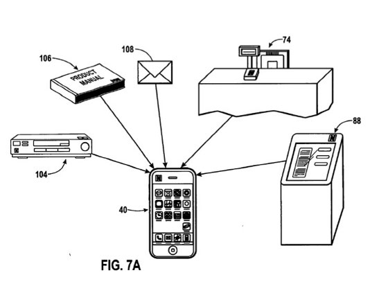
Компания Apple запатентовала очередную свою разработку. Она называется "System and Method for Providing Content Associated with a Product or Service" и предполагает использовании NFC (технология беспроводной связи малого радиуса действия) и других подобных технологий в iPhone. Описывается способ производить покупки в магазинах, причем, перед приобретением какой-либо техники можно быстро найти инструкцию к нему или даже просмотреть обучающее видео. Для этого будет использоваться либо RFID, либо просто съемка штрих-кода нужного продукта на встроенную камеру мобильного устройства.

Патент Apple

Это, однако, еще не все применение данной разработки. Подобным образом можно получить данные, скажем, о блюде в ресторанном меню или получить скидку в кафе. Для этого в iPhone будет встроено специальное программное обеспечение, но и с другой стороны, чтобы система работала, товары и пункты меню в ресторане должны быть снабжены соответствующими метками или кодами. Поэтому вряд ли она будет реализована в ближайшее время. Хотя, возможно iPhone одного из будущих поколений все же получит поддержку NFC.

Источник: AppleInsider

Новостная служба Ferra, news@ferra.ru 

Теги:Apple

Джерело: ferra.ru


Обговорення новини

Коментариев пока никто не оставил. Станьте первым!
:)8-):cry:=-):-D:angry::-[:(:devil:,)
укажите цифры с картинки
 

Попередні новини

  • Объявлен список кодеков для Microsoft Windows Phone 7Объявлен список кодеков для Microsoft Windows Phone 718:00 09.07.2010

    Эта новость адресована в первую очередь тем, кто сомневается, сможет ли Microsoft Windows Phone 7 конкурировать с Apple iPhone по мультимедийным возможностям. Дело в том, что Windows Phone 7 будет поддерживать множество аудио и видео кодеков.

  • Samsung Entro для канадского BellSamsung Entro для канадского Bell17:57 09.07.2010

    Корейская Samsung совместно с канадским оператором сотовой связи Bell представили новый телефон под именем Samsung Entro. Samsung Entro - это горизонтальный слайдер с выдвигающейся QWERTY-клавиатурой.

  • Dell представляет ноутбуки с дизайном от ThreadlessDell представляет ноутбуки с дизайном от Threadless17:54 09.07.2010

    Компания-производитель ПК Dell объединилась с Threadless для создания нового дизайна своих ноутбуков. Теперь Threadless будет раскрашивать не только футболки, но и ноутбуки Dell. Расцветку для компьютера можно выбрать на сайте Dell Design Studio и там уже представлены одиннадцать различных дизайнов. Вскоре будут представлены новые расцветки в дополнение к существующим.


купить телефон в Одесі, Україна

eStore – інтернет-магазин Apple