Apple запатентовала гибридный ноутбук с гнущимся корпусом

01:48, 06.05.2020

Вслед за многочисленными патентами, описывающими гибкие смартфоны и планшеты, Apple подала в Патентное бюро США заявку, в которой речь идёт о ноутбуке, выполненном в цельном корпусе и лишённом традиционного шарнирного механизма.

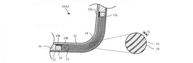
Патент с порядковым номером 10,642,318, называющийся «Планарная петля в сборе», описывает гибкое устройство, весьма похожее на MacBook Pro. В нём говорится, что ноутбук получит вид цельного устройства и вместо привычного шарнира будет иметь гибкую часть корпуса между клавиатурой и экраном. Суть изобретения состоит в том, что сгибаемая часть, имеющая «регулируемую структуру изгиба» должна быть сформирована из «стопки слоёв, способных переходить из несжатого состояния в сжатое». По большей части патент описывает способы, с помощью каких данная возможность может быть реализована на практике. Однако в нём практически не описаны преимущества изгибаемого механизма перед привычным шарниром.

Петли, использующиеся в ноутбуках Apple, являются высококачественным и отлично протестированным механизмом, который практически не вызывает никаких нареканий у пользователей. Но как поведёт себя запатентованный изгибаемый механизм тяжело представить, хотя он может оказаться даже лучше применяемого сейчас решения.

Помимо этого, патент описывает возможность применения в устройствах с новым механизмом гибких дисплеев, что перекликается с одним из предыдущих патентов Apple, в котором речь идёт об устройстве с двумя дисплеями, один из которых используется для ввода, а второй для отображения контента.

В любом случае, даже если Apple выпустит подобное устройство на рынок, случится это только тогда, когда механизм будет полностью протестирован и пригоден для повседневной работы.

Джерело: 3DNews.ru


Обговорення новини

Коментариев пока никто не оставил. Станьте первым!
:)8-):cry:=-):-D:angry::-[:(:devil:,)
укажите цифры с картинки
 

Попередні новини


купить телефон в Одесі, Україна

eStore – інтернет-магазин Apple