Microsoft запатентовала смартфон-книжку с гибким дисплеем

15:26, 19.09.2020

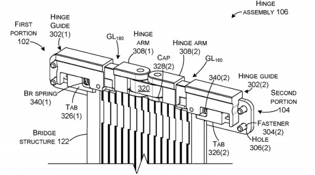
Управление США по патентам и торговым маркам (USPTO) выдало корпорации Microsoft патент на устройство с шарнирным креплением (hinged device). Речь идёт о новом мобильном гаджете со складным корпусом.

В документации описывается смартфон в форм-факторе книжки с большим гибким дисплеем. Эта панель будет складываться вовнутрь, что защитит её от повреждений во время повседневного ношения.

На патентных иллюстрациях видно, что над экраном расположатся «глазки» камер и различных датчиков. В нижней части корпуса находится порт USB Type-C, в одной из боковых частей — физические кнопки управления.

Гибкий дисплей может быть выполнен по технологии органических светодиодов (OLED). В патенте описывается конструкция шарнирного соединения с особой «мостовой» структурой.

Очевидно, новый смартфон-книжка в случае выхода на коммерческий рынок получит внешний вспомогательный дисплей и многомодульную основную камеру. Использовать гаджет владельцы смогут в качестве традиционного смартфона и в роли небольшого планшетного компьютера.

К сожалению, пока не ясно, собирается ли Microsoft выпускать потребительскую версию подобного устройства.

Джерело: 3DNews.ru


Обговорення новини

Коментариев пока никто не оставил. Станьте первым!
:)8-):cry:=-):-D:angry::-[:(:devil:,)
укажите цифры с картинки
 

Попередні новини

  • Слабо! Производительность iPhone 12 Pro сравнили с iPhone 11 ProСлабо! Производительность iPhone 12 Pro сравнили с iPhone 11 Pro15:48 18.09.2020

    Во время недавней презентации Apple не стала особо акцентировать внимание на новом 5-нм чипсете A14 Bionic, впервые применённом в iPad Air, сравнив его с позапрошлогодним A12 Bionic.

  • Живые фото и пара важных скрытых фишек Samsung Galaxy S20 FEЖивые фото и пара важных скрытых фишек Samsung Galaxy S20 FE12:09 18.09.2020

    После выхода спорных линеек Galaxy S20 и Note 20, наиболее ожидаемым фанатами Samsung устройством стал Galaxy S20 FE, сочетающий в себе топовые характеристики при сниженной цене.

  • Так выглядит Apple AirPower Mini для iPhone 12Так выглядит Apple AirPower Mini для iPhone 1211:26 18.09.2020

    Компания Apple официально объявила об отмене разработки беспроводного зарядного устройства AirPower в начале прошлого года. Однако теперь есть подтверждения, что компания не полностью свернула все разработки в данном направлении.


купить телефон в Одесі, Україна

eStore – інтернет-магазин Apple