Новый смартфон Samsung получит вырезы в дисплее под... кнопки

02:07, 08.09.2018

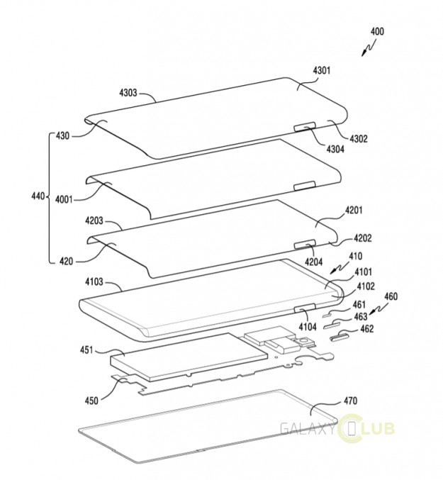
Последние флагманские смартфоны Samsung имеют едва заметные рамки по бокам изогнутых экранов. На этих рамках располагаются физические кнопки (включения, регулировки громкости и Bixby).

Согласно последним тенденциям, производители двигаются в сторону дальнейшего уменьшения ширины рамок. В новом патенте, который был зарегистрирован компанией Samsung, нам демонстрируют смартфон с сильно изогнутыми боковыми частями дисплея, который имеет вырез в боковой части экрана.

Очевидно, что когда дисплей будет огибать всю боковую часть экрана и доставать до задней панели, места для физических кнопок на корпусе попросту не останется. Поэтому Samsung изучает возможность создания отверстий в дисплее, в которых будут располагаться физические кнопки.
Новый смартфон Samsung получит вырезы в дисплее под... кнопки

Нет никакой гарантии, что этот патент найдет воплощение в реальном устройстве. Но не сильно удивляйтесь, если именно такое решение будет реализовано в юбилейном Galaxy S10.

Джерело: iXBT.com


Обговорення новини

Коментариев пока никто не оставил. Станьте первым!
:)8-):cry:=-):-D:angry::-[:(:devil:,)
укажите цифры с картинки
 

Попередні новини

  • AllCall S1 – полный обзор характеристик: бюджетный и долго работающий смартфонAllCall S1 – полный обзор характеристик: бюджетный и долго работающий смартфон01:06 08.09.2018

    Глобальная популяризация смартфонов не только принесла большие возможности, но и в значительной степени усилила задачу для производителей смартфонов, особенно в категории трубок начального уровня.

  • Опубликованы рендеры смартфона-лилипута Palm PepitoОпубликованы рендеры смартфона-лилипута Palm Pepito10:09 07.09.2018

    Все уже привыкли, что смартфоны едва помещаются в кармане джинсов за счет большого экрана, и это давно уже стало нормой. Однако не все готовы мириться с этим: к примеру, китайская компания TCL, владелец брендов Alcatel и BlackBerry, собирается выпустить смартфон Palm Pepito с крошечным по нынешним меркам дисплейчиком. И да, бренд Palm она тоже купила.

  • Nokia 9 с пятью камерами на живом фотоNokia 9 с пятью камерами на живом фото10:07 07.09.2018

    Китайский портал ITHome опубликовал фото флагманского смартфона Nokia 9, оснащённого пятью задними камерами. Судя по фото, устройство также получит двухдиодную вспшыку и лазерный автофокус, а оптику для камер создаст ZEISS.


купить телефон в Одесі, Україна

eStore – інтернет-магазин Apple