Windows Core будет облачной операционной системой

14:08, 18.08.2019

Microsoft продолжает трудиться над своей операционной системой Windows Core для устройств Microsoft следующего поколения, которые включают в себя Surface Hub, HoloLens и грядущие складывающиеся аппараты. По крайней мере, об этом свидетельствует профиль в LinkedIn одного из программистов Microsoft:

«Опытный разработчик C++ с навыками в области создания облачных управляемых операционных систем (Cloud Manageable Operating Systems). Внедрение возможностей и протоколов управления устройствами на основе Azure для устройств Интернета вещей, аппаратов следующего поколения на базе WCOS (Windows Core OS), рабочего стола Windows, HoloLens и Windows Server».

Другой профиль LinkedIn, принадлежащий разработчику из группы Windows Storage Spaces в Microsoft, упоминает свою работу над внедрением технологии Storage Spaces в операционную систему Windows Core. Стоит сказать, что Storage Spaces в Windows и Windows Server призвана улучшить защиту данных пользователя от сбоев дисков и повысить надёжность устройств.

Аббревиатура WCOS также упоминается в нескольких объявлениях LinkedIn о найме на работу. Несколько профилей указывают на новый Центр уведомлений в ОС Windows Core и на компоненты с открытым исходным кодом. Напомним: Windows Core — это модульная ОС, создаваемая, вероятно, для того, чтобы сделать возможным работу Windows на устройствах любых форматов, а также повысить производительность и энергоэффективность в специализированных задачах. Считается, что Windows Core будет использоваться, например, в HoloLens следующего поколения.

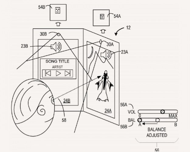
Кстати, недавно Microsoft запатентовала складное устройство с двумя экранами, которое будет иметь виртуальные регуляторы микширования громкости вместо физических регуляторов громкости. В заявке на патент компания также отметила, что устройство может поддерживать раздельные приложения и функции на обоих дисплеях. То есть, например, пользователь может запускать картографическое ПО на одном экране и играть на другом.

Джерело: 3DNews.ru


Обговорення новини

Коментариев пока никто не оставил. Станьте первым!
:)8-):cry:=-):-D:angry::-[:(:devil:,)
укажите цифры с картинки
 

Попередні новини


купить телефон в Одесі, Україна

eStore – інтернет-магазин Apple