Apple добавляет Siri в iMac и MacBook?

17:23, 03.04.2012

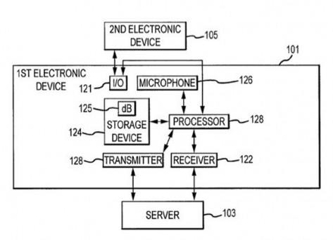
Октябрьский анонс голосового помощника Siri был подан как лакомый кусочек нового iPhone 4S. Но долго прожить на одном устройстве говорящей малышке вряд ли удастся. В подтверждение этого новый патент, появившийся сегодня.

Уже в скором времени на iMac и MacBook может прийти та самая вожделенная сладкоголосая девица, готовая всегда помочь пользователю.

Логично было бы предположить, что помощник появится уже со следующим обновлением операционной системы. А учитывая то, что Mac OS сейчас выглядит также, как iOS, появление Siri в ней вполне предсказуемо.

Конечно, Siri пока находится в бета-стадии, но это не мешает ей тестироваться на iPhone 4S. Вообще-то ее ожидали и в новом iPad, но к сожалению она так там и не поселилась. Кто знает, какой период “бета” выбрали в Apple для нее. Будем надеяться, что сегодняшний патент послужит неким флажком, на пути к обновлению

Теги:AppleSiri

Джерело: iphones.ru


Обговорення новини

Коментариев пока никто не оставил. Станьте первым!
:)8-):cry:=-):-D:angry::-[:(:devil:,)
укажите цифры с картинки
 

Попередні новини

  • Новый иск подан на Siri в американском судеНовый иск подан на Siri в американском суде10:18 30.03.2012

    Всё чаще и чаще иски повторяют друг друга. Еще совсем недавно нас возмущал мартовский иск жителя Нью-Йорка против Siri и вот сегодня его земляк из солнечной Калифорнии решил повториться. Новый иск, поданный гражданином Дэвидом Джонсом, несет те же основные обвинения, что и предыдущая жалоба: несоответствие способностей голосового помощника от Apple, заявленным и рекламируемым возможностям.

  • «Катюша», или Siri по-русски«Катюша», или Siri по-русски09:30 26.03.2012

    Недавно наткнулся на очень любопытный пост на Хабрахабре — «Разработка русскоговорящего „аналога“ Siri за 7 дней». В нем автор рассказывает о том, как решил создать аналог Siri, но говорящий уже на великом и могучем русском языке. Если вам любопытно, можете ознакомиться с подробностями по ссылке, я же расскажу, чем проект заинтересовал меня.

  • На Siri подали в судНа Siri подали в суд17:29 13.03.2012

    Очередной скандал завертелся вокруг голосового ассистента Siri. На сей раз свою претензию в письменной форме изложил американец Фрэнк Фацио. Он утверждает, что реклама Siri вводит в заблуждение беспомощных и доверчивых граждан.


купить телефон в Одесі, Україна

eStore – інтернет-магазин Apple