Microsoft проектирует обложку с солнечной батареей для планшетов Surface

03:14, 15.01.2020

Управление США по патентам и торговым маркам (USPTO) выдало корпорации Microsoft патент на новый аксессуар для планшетных компьютеров — защитную обложку с расширенной функциональностью.

Документ носит имя «Обложка для мобильного устройства со встроенной солнечной панелью» (Mobile device cover with integrated solar panel). Заявка на патент была подана в октябре 2018 года, но выдан он только сейчас.

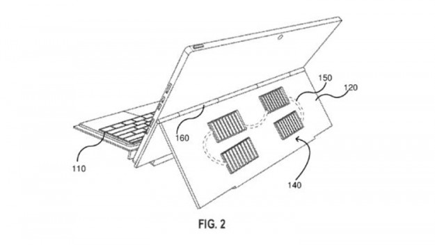
Редмондский гигант предлагает интегрировать солнечные батареи в подставку для планшетного компьютера. Как можно видеть на иллюстрации, конструкция предусматривает использование массива солнечных элементов в виде матрицы 2 ? 2.

Сетевые источники добавляют, что эти батареи смогут вырабатывать энергию как при естественном, так и при искусственном освещении. Подзарядка может осуществляться при включенном и выключенном планшете.

Разумеется, интегрированные солнечные панели не смогут удовлетворить все потребности компьютера в энергии во время работы. Однако они позволят продлить время автономного функционирования. Кроме того, такой аксессуар, пусть и не быстро, но сможет подзаряжать гаджет вдали от электрической сети.

Не исключено, что предложенное решение будет воплощено в одной из обложек Type Cover для будущих планшетных компьютеров Microsoft Surface Pro.

Джерело: 3DNews.ru


Обговорення новини

Коментариев пока никто не оставил. Станьте первым!
:)8-):cry:=-):-D:angry::-[:(:devil:,)
укажите цифры с картинки
 

Попередні новини

  • Samsung Galaxy A01 выйдет на рынок по рекордно низкой ценеSamsung Galaxy A01 выйдет на рынок по рекордно низкой цене02:24 15.01.2020

    Герой множества утечек в конце прошлого года – сверхбюджетный Samsung Galaxy A01, – был формально представлен ещё 18 декабря, но представители компании умолчали о цене будущего преемника хитового Galaxy A10.

  • Xiaomi Redmi Note 8 Pro с матовым стеклом на живых фотоXiaomi Redmi Note 8 Pro с матовым стеклом на живых фото01:42 15.01.2020

    Недавно Xiaomi объявила о старте продаж нового издания Redmi Note 8 Pro в цвете Twilight Orange. Как оказалось, новинка выделяется не только цветом, но и текстурой стекла на задней панели.

  • Google готовит собственный аналог AirDrop для устройств на базе AndroidGoogle готовит собственный аналог AirDrop для устройств на базе Android01:05 15.01.2020

    О том, что Google разрабатывает собственный аналог технологии AirDrop, позволяющей пользователям обмениваться файлами, известно достаточно давно. Теперь же сообщается о том, что данная функция, носившая ранее название Fast Share, будет представлена в будущем как Nearby Sharing.


купить телефон в Одесі, Україна

eStore – інтернет-магазин Apple