Уникальный ноутбук Dell получит два экрана и совершенно неожиданную конструкцию

13:58, 04.01.2019

Мы уже видели концепты ноутбуков, которые оснащены двумя экранами, причем второй располагается на месте физической клавиатуры. Достаточно вспомнить, например, Asus Project Precog. Этот же производитель также попробовал разместить второй экран на месте тачпада, как у Asus ZenBook Pro 14.

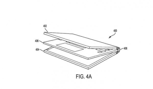
Но вот компания Dell запатентовала действительно очень интересный ноутбук, оснащенный двумя экранами и конструкцией, которую нам ранее никто еще не представлял. В патенте под названием Information Handling System with Multiple Detachable Displays говорится о том, что ноутбук может быть оснащен двумя подключаемыми дисплеями, причем они могут складываться в единую конструкцию не только в рабочем состоянии, но и когда ноутбук необходимо транспортировать в другое место.

В сложенном состоянии оба экрана будут находиться по разные стороны от основного блока с начинкой и клавиатурой, при этом логично ожидать, что первые подобные устройства будут тяжелее привычных ноутбуков такой же диагонали.

Оба дисплея можно направить на пользователя, также один дисплей можно развернуть по направлению к аудитории, например, в ходе презентации. Содержимое экранов можно дублировать или продлевать рабочий стол, как при обычном использовании двух дисплеев.

Информации о размерах дисплеев и характеристиках ноутбука пока что нет.

Джерело: iXBT.com


Обговорення новини

Коментариев пока никто не оставил. Станьте первым!
:)8-):cry:=-):-D:angry::-[:(:devil:,)
укажите цифры с картинки
 

Попередні новини

  • Redmi отделяется от Xiaomi: дата анонса «Redmi 7» с 48-Мп камеройRedmi отделяется от Xiaomi: дата анонса «Redmi 7» с 48-Мп камерой13:52 04.01.2019

    Xiaomi объявила о том, что бренд Redmi отправляется в свободное плавание. Об этом компания объявила в социальных сетях, сопроводив сообщение тизером первой пресс-конференции Redmi в новом статусе.

  • 3D-модель и рендеры Motorola Moto Z4 Play: капля, Moto Mods, 3,5 мм3D-модель и рендеры Motorola Moto Z4 Play: капля, Moto Mods, 3,5 мм12:37 04.01.2019

    OnLeaks начал свою деятельность в этом году утечкой по дизайну Motorola Moto Z4 Play – доступного представителя флагманской серии. В этом сезоне девайс предложит формат безрамочника с каплевидной бровью.

  • Samsung Galaxy S10 впервые на живом фотоSamsung Galaxy S10 впервые на живом фото01:27 04.01.2019

    На фоне множества утечек по Samsung Galaxy S10, связанных с производителями защитных аксессуаров для девайса, в Сети появилась снимок, на котором якобы рабочий прототип флагмана Samsung, известного под кодовым именем Beyond 1. На нем мы видим лицевую панель гаджета, облаченного в защитный чехол.


купить телефон в Одесі, Україна

eStore – інтернет-магазин Apple