Apple патентует интерактивный 3D-интерфейс

14:39, 13.02.2012

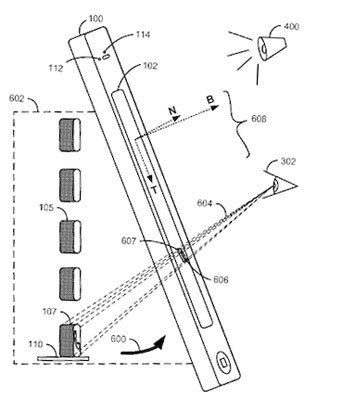
Слухи о iPad 3 появляются практически ежедневно, но это всего лишь слухи, а вот то, что Apple патентует интерактивный 3D-интерфейс это уже факт.

Благодаря подобному решению дисплей сможет реагировать на движение глаз пользователей, и подобная технология может быть реализована в одном из ближайших девайсов компании. Таким образом, изображение на экране будет подстраиваться под положение глаз читателя, увеличивая или уменьшая масштаб и т.д.

Патент также включает в себя подробное описание "реалистичности" исполнения интерфейса, его работы в зависимости от степени освещения и угла обзора и прочее. Тем, кому особенно интересно описание интерактивного 3D-интерфейса смогут без труда найти его в Сети.

Джерело: SmartPhone.ua


Обговорення новини

Коментариев пока никто не оставил. Станьте первым!
:)8-):cry:=-):-D:angry::-[:(:devil:,)
укажите цифры с картинки
 

Попередні новини

  • Nokia Lumia 800 получит обновление прошивки для своей камерыNokia Lumia 800 получит обновление прошивки для своей камеры14:37 13.02.2012

    Камера на задней стенке Nokia Lumia 800, с 8,0-мегапиксельным сенсором и оптикой Carl Zeiss не оправдала возложенных на нее ожиданий, причем в Nokia уже признали, что с камерой имеется некоторые проблемы, которые будут решены в ближайшее время, но конкретные сроки пока не называются.

  • Для Droid Bionic выпущено обновлениеДля Droid Bionic выпущено обновление14:36 13.02.2012

    В прошлом году смартфон Droid Bionic можно назвать самой ожидаемой трубкой года, но частые задержки релиза и переносы сроков старта продаж немного поубавили пыл потенциальных покупателей. Однако в Motorola не забывают о владельцах Droid Bionic, выпустив в свет обновленное программное обеспечение.

  • Instagram получил обновленную версиюInstagram получил обновленную версию14:16 13.02.2012

    Популярнейшее приложение для обмена фотографиями Instagram получило обновление до версии 2.1 и уже имеется на App Store. На данный момент Instagram насчитывает около 15 миллионов пользователей iOS и это число несомненно вырастет после того как Instagram появится и на Android Market, что произойдет в самое ближайшее время.


купить телефон в Одесі, Україна

eStore – інтернет-магазин Apple