Архів новин за 26 березня 2012 года

  • Рейтинг самых надежных телефонов возглавили iPhone 4 и Nokia 1616Рейтинг самых надежных телефонов возглавили iPhone 4 и Nokia 161626 березня 2012

    Лаборатория «Технокраш» провела в 2010-2011 годах несколько десятков тестов надежности мобильных устройств разных моделей и разных производителей. По завершению испытаний команда представила TOP-10 телефонов, которые прослужат своим хозяевам долгие годы и не подведут в самой сложной ситуации.

  • Nokia Belle Feature Pack 2 находится в работеNokia Belle Feature Pack 2 находится в работе26 березня 2012

    На MWC 2012 компания Nokia представила первый телефон с платформой Nokia Belle Feature Pack 1 (S60 5.4) – 41-Мп смартфон 808 PureView. Позже стало известно, что данное ПО получат, по меньшей мере, модели 603, 700 и 701.

  • Nokia готовит «невероятные» смартфоны с Windows Phone ApolloNokia готовит «невероятные» смартфоны с Windows Phone Apollo26 березня 2012

    Новые смартфоны Nokia на платформе Windows Phone Apollo могут оказаться очень интересными. Один из работников финской компании утверждает, что Nokia собирается выпустить «невероятные» смартфоны с Windows Phone Apollo, которые превзойдут всю сегодняшнюю линейку Nokia Lumia.

  • Apple будет предлагать нано-SIM бесплатноApple будет предлагать нано-SIM бесплатно26 березня 2012

    Некоторое время тому назад появилась новость, согласно которой крупнейшие производители спорят насчет следующего поколения SIM. В центре внимания главным образом оказались Apple и Nokia – каждая из сторон заявляет, что ее нано-SIM лучше.

  • Китайская школьница попалась на контрабанде iPhoneКитайская школьница попалась на контрабанде iPhone26 березня 2012

    На днях стало известно, что на китайской таможне попалась юная школьница, которую местные контрабандисты использовали в качестве перевозчика нелегальных партий смартфонов iPhone. В результате обыска у нее нашли не один и не два, а целых двадцать пять смартфонов, обмотанных с помощью липкой ленты вокруг ее тела.

  • Женщина судится с Apple за сломанный носЖенщина судится с Apple за сломанный нос26 березня 2012

    Чем богаче и известнее становится компания, тем чаще вокруг ее имени клубятся облака скандалов и исков. Сегодняшняя ситуация не исключение. 83-летняя Эвелин Пасволл, бывший вице-президент нью-йоркской меховой компании, подала иск на Apple, обвинив ее в чрезмерно прозрачных стеклах.

  • В Бразилии появился смартфон Motorola i867 iDENВ Бразилии появился смартфон Motorola i867 iDEN26 березня 2012

    Компания Motorola анонсировала новый iDEN-смартфон Motorola i867 с поддержкой Push-To-Talk. В телефоне используется операционная система Android 2.1 Eclair. Он оснащен 3,1-дюймовым сенсорным дисплеем с разрешением 320 x 480 точек, 3МР камерой с фиксированным фокусом и слотом microSD (до 32 Гб).

  • HotPad. Дорогая подставкаHotPad. Дорогая подставка26 березня 2012

    Уже две недели новый iPad шагает по планете семимильными шагами, получая в свои цепкие лапы новых фанатов. И все это время его “шествие” сопровождается гнусавым жалобным голосом: “он грееееется и тяжелее предыдущего”. Даже тестовые сравнения нагрева планшетов двух поколений не привели в чувства скептиков.

  • Angry Birds Space — 10 миллионов загрузок за 3 дняAngry Birds Space — 10 миллионов загрузок за 3 дня26 березня 2012

    22 марта компания Rovio выпустила продолжение серии игр про пернатых — Angry Birds Space. Наверняка вы уже успели прочитать подробнейший обзор этого хита на нашем сайте. Сегодня же компания написала в своем Twitter, что количество загрузок превысило 10 миллионов.

  • 5 причин, по которым следующий iPhone не получит экран 4,6 дюйма5 причин, по которым следующий iPhone не получит экран 4,6 дюйма26 березня 2012

    Для многих фанатов iPhone вчерашний вечер стал просто прекрасным: слух о новом, большом экране для следующего поколения смартфонов iPhone прокатился со скоростью Angry Birds не только по западным порталам, но и по Рунету. Чего греха таить, все мы ждали большого экрана ещё до анонса iPhone 4S. Тогда не получилось, может получится теперь?

  • Новый iPhone с новым разъёмомНовый iPhone с новым разъёмом26 березня 2012

    Прогресс в производительности мобильных гаджетов сильно стопорится отсутствием таких же прорывов в сфере разработки компактных источников энергии. Медленно, но верно наши смартфоны и планшеты превращаются в огромную батарею, еле-еле способную прокормить аппетиты современных экранов и процессоров.

  • Эффект «Матрицы» на смартфонах Nokia Lumia 800Эффект «Матрицы» на смартфонах Nokia Lumia 80026 березня 2012

    В рамках партнерской программы компания Nokia и производитель зимнего спортивного снаряжения Burton представили на Европейском открытом чемпионате по сноуборду интересный совместный проект. Основу для этого проекта составил комплект фирменных смартфонов Nokia Limia 800, с их помощью авторы реализовали видеосъемку с эффектом bullet time, который использовался в знаменитом фильме «Матрице».

  • В Сеть выложены фотографии и характеристики смартфона LG Lucid 4GВ Сеть выложены фотографии и характеристики смартфона LG Lucid 4G26 березня 2012

    Компания LG собирается представить коммуникатор Lucid 4G, но пока не назначает дату его официального анонса. Есть косвенные подтверждения того, что событие состоится в обозримом будущем, а тем временем Сеть постепенно заполняется новой информацией об этом аппарате. Буквально сегодня на одном из западных информационных ресурсов были найдены спецификации и фотографии Lucid 4G, очень уж смахивающие на официальные.

  • Ведущий дизайнер Samsung утверждает, что не копировал iPhoneВедущий дизайнер Samsung утверждает, что не копировал iPhone26 березня 2012

    Ведущий дизайнер мобильных устройств Samsung Ли Минхеук (Lee Minhyouk) заявил журналистам Reuters, что совершенно не согласен с обвинениями компании Apple, что якобы устройства Samsung просто копируют продукцию из Купертино. Ли Минхеук утверждает, что смартфоны Samsung самобытны с самого начала, а в качестве образцов для аппаратов серии Galaxy он называет прежние модели телефонов Samsung.

  • Sony Ericsson Xperia Acro HD – бестселлер в ЯпонииSony Ericsson Xperia Acro HD – бестселлер в Японии26 березня 2012

    Компания Apple еще не назвала дату проведения WWDC 2012, но если взглянуть на расписание выставочного комплекса Moscone Center, куда Apple приезжает каждое лето с последними новостями, то можно увидеть, что с 11 по 15 июня он будет занят «корпоративным мероприятием».

  • Стильные аксессуары для Samsung Galaxy NoteСтильные аксессуары для Samsung Galaxy Note26 березня 2012

    Для флагмана продаж — Samsung Galaxy Note — наш интернет-магазин abe-free.ru предлагает покупателю огромный выбор аксессуаров, среди которых главное место занимают чехлы. Мы хотим вам представить более подробно чехлы фирмы Zenus, которые смогут удовлетворить любого, даже очень взыскательного покупателя.

  • iMainGo XP: самый громкий чехол для iPadiMainGo XP: самый громкий чехол для iPad26 березня 2012

    На протяжении двух лет самый популярный в мире планшет обзаводился самыми разными чехлами и футлярами в множестве вариаций. Вот этот же чехол — iMainGo XP — заявлен производителем как самый «громкий» чехол, который вы только могли видеть и слышать. Если различные футляры «присобачивают» к iPad что-то вроде защиты, клавиатуры и прочий инвентарь, то этот чехол за 119 долларов добавляет мощные динамики.

  • [Mac App Store] Color Splash Studio — разукрась свои фото[Mac App Store] Color Splash Studio — разукрась свои фото26 березня 2012

    Некоторые из нас часто пытаются хоть как-то приукрасить свои фотографии, чтобы немного выделиться на фоне остальных. Иногда далеко не всем может хватить знаний для полноценной работы в Photoshop, который так не любят новички из-за его невероятно сложного интерфейса и огромного количества настроек, которые, порой, нужны лишь для того, чтобы мешать простому пользователю.

  • Tripleton Enigma E2 - самый безопасный телефон в миреTripleton Enigma E2 - самый безопасный телефон в мире26 березня 2012

    Tripleton Enigma E2 очень непохож на другие сотовые телефоны. Новинка не обладает каким-либо внушительным функционалом или запоминающейся внешностью. Но у аппарата есть одна особенность, которая позволила производителю назвать его «самым безопасным телефоном в мире».

  • Coverbee предлагает «одеть» ноутбук за 11 миллионов долларовCoverbee предлагает «одеть» ноутбук за 11 миллионов долларов26 березня 2012

    Большинство чехлов для ноутбуков не стоит более 200 долларов. Но это продукция для массового покупателя со средним доходом, другое дело – представители рейтинга Forbs и ему подобных. Миллионные доходы позволяют им тратить миллионы даже на малозначительные аксессуары, если они выполнены со знанием дела и любовью к роскоши.

  • Angry Birds Space для Windows Phone уже в работеAngry Birds Space для Windows Phone уже в работе26 березня 2012

    Вчера компания Rovio выпустила четвертый релиз популярной игры Angry Birds, получивший название Angry Birds Space. На сегодняшний день игра доступна для устройств на платформах iOS и Android, а вот пользователям девайсов на Windows Phone придется еще немного подождать и довольствоваться пока оригинальной версией Angry Birds.

  • Злые роботы внутри Sony XperiaЗлые роботы внутри Sony Xperia26 березня 2012

    Sony запустила новую рекламную кампанию в поддержку серии Xperia. Первый ролик называется «Sony Xperia. Создан воображением». ТВ-версия на русском языке длится 31 секунду, а полная версия примерно в два раза длиннее. Но она на английском:

  • ТОП 10 платных игр (18-25.03.2012)ТОП 10 платных игр (18-25.03.2012)26 березня 2012

    В борьбе с «пернатой» экспансией русского App Store уже не раз отличились отечественные разработчики. На фронте с переменным успехом отбивались отважные бойцы из Zeptolab со своим Cut The Rope. Девелоперы Feed Me Oil какое-то время были надежной опорой в тылу. Но никто из них не выдержал мощного удара, который нанесли финны из Rovio Mobile на этой неделе.

  • Китайцы возвращают iPad’ыКитайцы возвращают iPad’ы26 березня 2012

    Работа серого дилера iOS-устройств отдаёт серостью ещё и потому, что из года в год она не меняется ни на йоту. Ты простаиваешь ночь перед стартом продаж в очереди к Apple Store, забираешь максимально возможное количество запечатанных коробок, ещё парочку получаешь по предзаказу, после чего — изыскиваешь способы провести ценную ношу через границу.

  • Поставки смартфона Huawei Ascend D quad начнутся лишь в июлеПоставки смартфона Huawei Ascend D quad начнутся лишь в июле26 березня 2012

    Судя по всему, Huawei Ascend D quad, об анонсе которого в рамках MWC 2012 мы писали в конце февраля, появится в продаже несколько позже, чем надеялись многочисленные гаджетоманы. Во всяком случае, по информации китайского портала CNMO, массовое производство этого высококлассного Android-смартфона на четырехъядерном процессоре стартует лишь в июне, а его появление на рынке состоится не раньше июля.

  • У нового iPad «врет» индикатор зарядаУ нового iPad «врет» индикатор заряда26 березня 2012

    Исследователи, изучавшие iPad третьего поколения, в ходе тестов обнаружили, что для полной зарядки аккумулятора планшета его необходимо держать подключенным к сети в течение еще двух часов после того, как на индикаторе заряда появляется надпись «100%». В результате тестов выяснилось, что проблема имеет программный характер и связана с точностью индикатора, а не является аппаратным дефектом.

  • Завод Foxconn готовится к производству новых iPhoneЗавод Foxconn готовится к производству новых iPhone26 березня 2012

    Как стало известно, северный завод Foxconn в Китае в провинции Шаньси может стать ключевым центром производства новых iPhone. China Times пишет, что завод столкнулся с «огромной» нехваткой рабочих (около 20 000 мест) в связи с подготовкой к сборке новых устройств. Предположительно завод будет обеспечивать 85% заказов, выпуская около 57 миллионов устройств в год.

  • Pair: приложение для всех влюбленныхPair: приложение для всех влюбленных26 березня 2012

    Общение со своей второй половинкой на расстоянии всегда огорчает, когда нет возможности встречаться лично. Радует лишь тот факт, что с современными электронными игрушками эту пилюлю можно максимально подсластить, благо в Интернете есть множество социальных сетей, для которых предусмотрено множество очень удобных мобильных приложений под смартфоны. Интересной альтернативой этому стилю общения является апплет Pair.

  • Опубликована возможная фотография Samsung GALAXY Tab 11.6Опубликована возможная фотография Samsung GALAXY Tab 11.626 березня 2012

    В декабре прошлого года появились слухи о том, что Samsung работает над планшетным компьютером с экраном диагональю 11,6 дюймов. Предполагалось, что так называемый Samsung GALAXY Tab 11.6, первый планшет корейской компании с предустановленной операционной системой Android 4.0, поступит в продажу в феврале 2012 года. Релиз не состоялся, но на этом история не закончилась.

  • Концепт смартфона BlackBerry BladeКонцепт смартфона BlackBerry Blade26 березня 2012

    Пока одни фанаты BlackBerry с нетерпением ждут появления новых моделей смартфонов на базе новой операционной системы BlackBerry 10, некоторые дизайнерские компании подогревают интерес первых и создают новые концепты будущих устройств BlackBerry.

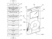
  • Apple пытается запатентовать стеклянный iPhoneApple пытается запатентовать стеклянный iPhone26 березня 2012

    Компания Apple подумывает о создании наследника iPhone в полностью стеклянном корпусе. Об этом стало известно из патентной заявки, которую компания подала в Американскую комиссию по патентам и торговым маркам (USPTO). В заявке описывается портативное устройство в корпусе, либо сделанном из цельной стеклянной трубки, либо склеенном из двух стеклянных пластин.

  • iPad: функция сковородки включенаiPad: функция сковородки включена26 березня 2012

    Возможности нового планшетного компьютера iPad и правда безграничны. Конечно, за две недели с начала выхода в продажу данной модели уже успели объявиться кое-какие минусы, однако даже они при оригинальном подходе превращаются в плюсы. Например, значительный перегрев корпуса новинки, по сравнению с предыдущими версиями iPad, позволяет использовать этот гаджет как один из кухонных предметов. Все подробности – далее.

  • iPhone 4 взорвался неподалёку от головы жительницы КолорадоiPhone 4 взорвался неподалёку от головы жительницы Колорадо26 березня 2012

    Пока фанаты Apple ждут анонса iPhone 5, старые добрые смартфоны iPhone 4 продолжают развлекать публику пиротехническими эффектами, которые скоро станут традицией. 51-летняя американка из штата Колорадо сообщила изданию Mashable, что у неё взорвался и задымился смартфон Apple iPhone 4. Потерпевшая предпочла сохранить анонимность, но зато Mashable демонстрирует фотографии её смартфона-погорельца:

  • Шведский иллюзионист доказал, что iPad волшебное устройствоШведский иллюзионист доказал, что iPad волшебное устройство26 березня 2012

    Хорошо, теперь я согласен — iPad действительно волшебное устройство. По-крайней мере тогда, когда он находится в руках Чарли Кэйпера (Charlie Caper) и Эрика Росалеса (Eric Rosales). Представление, устроенное ими, потребовало 7 планшетов и одного лучшего иллюзиониста Швеции.

  • «Катюша», или Siri по-русски«Катюша», или Siri по-русски26 березня 2012

    Недавно наткнулся на очень любопытный пост на Хабрахабре — «Разработка русскоговорящего „аналога“ Siri за 7 дней». В нем автор рассказывает о том, как решил создать аналог Siri, но говорящий уже на великом и могучем русском языке. Если вам любопытно, можете ознакомиться с подробностями по ссылке, я же расскажу, чем проект заинтересовал меня.



купить телефон в Одесі, Україна

eStore – інтернет-магазин Apple